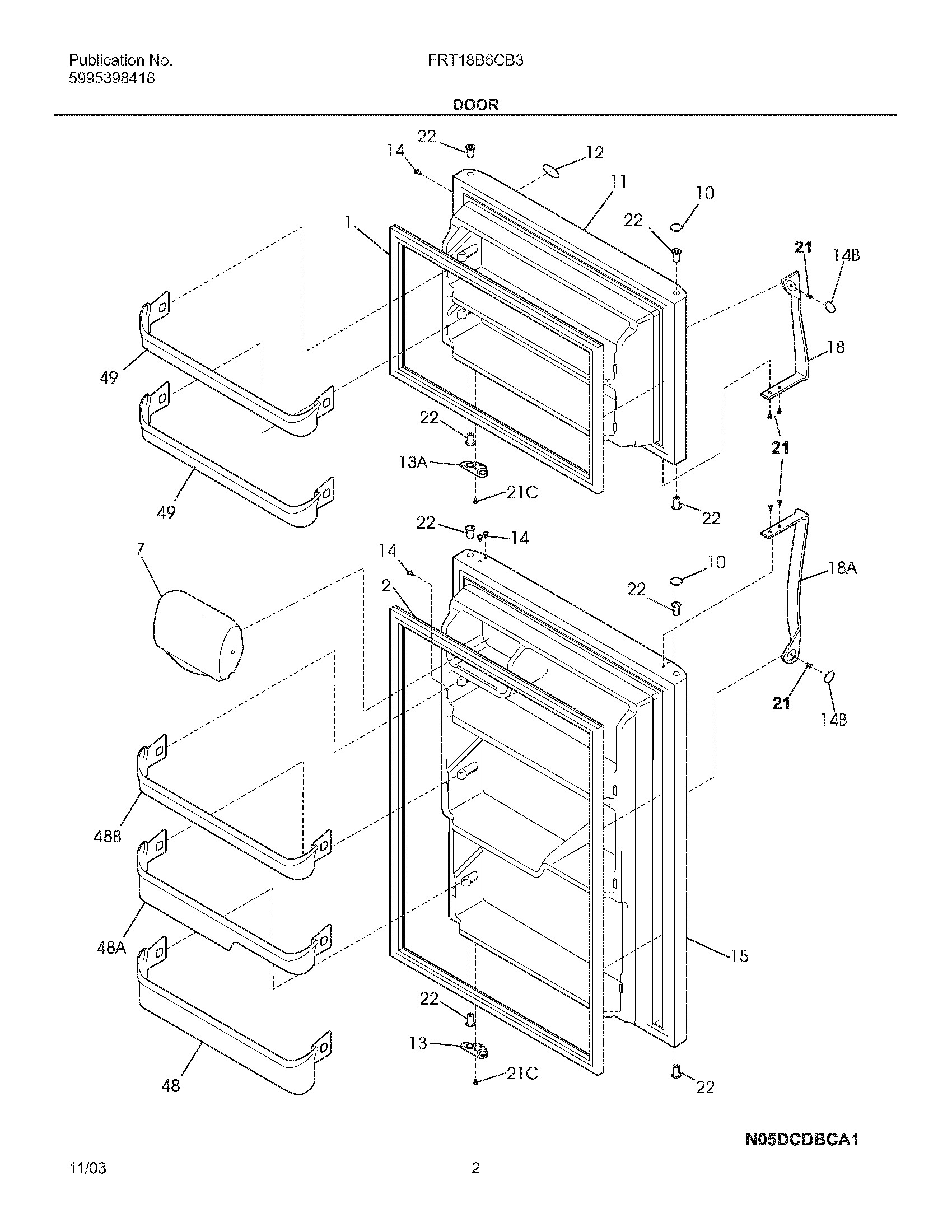
FRT18B6CB3 03 – DOOR