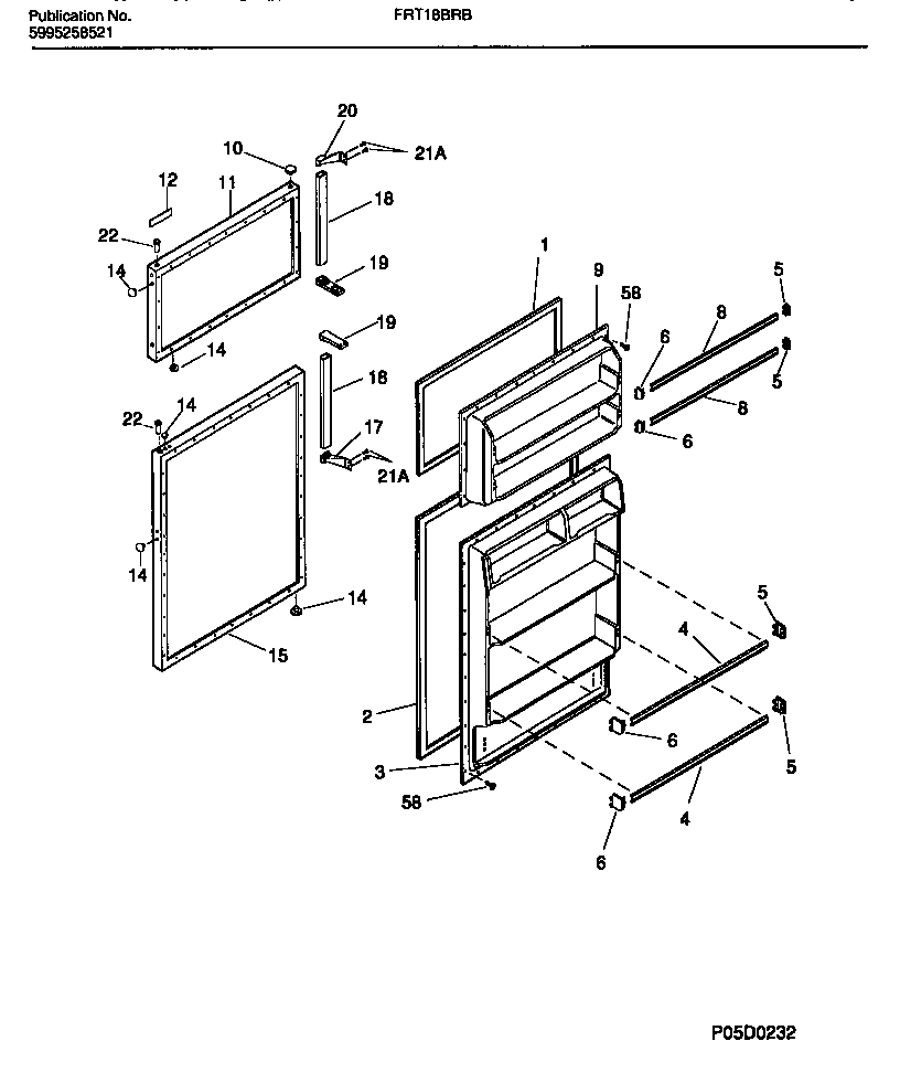
FRT18BRBD2 02 – DOOR SECTION