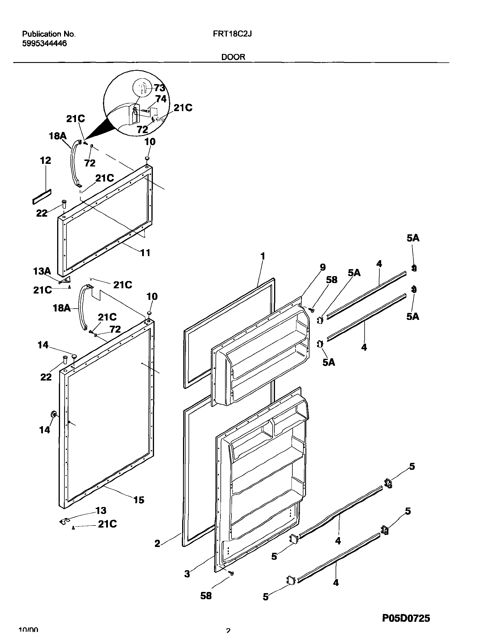
FRT18C2JW1 03 – DOOR