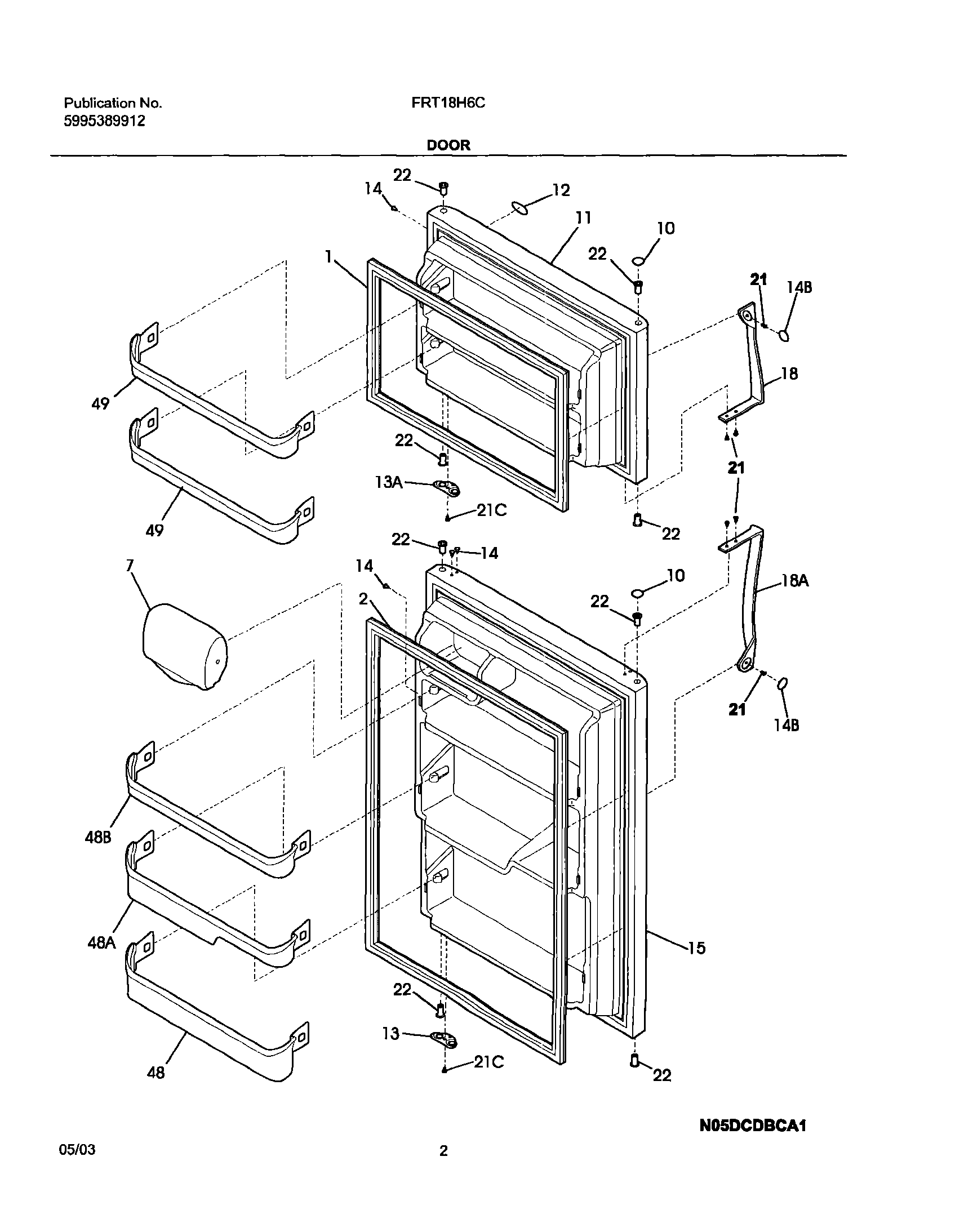
FRT18H6CW1 03 – DOOR