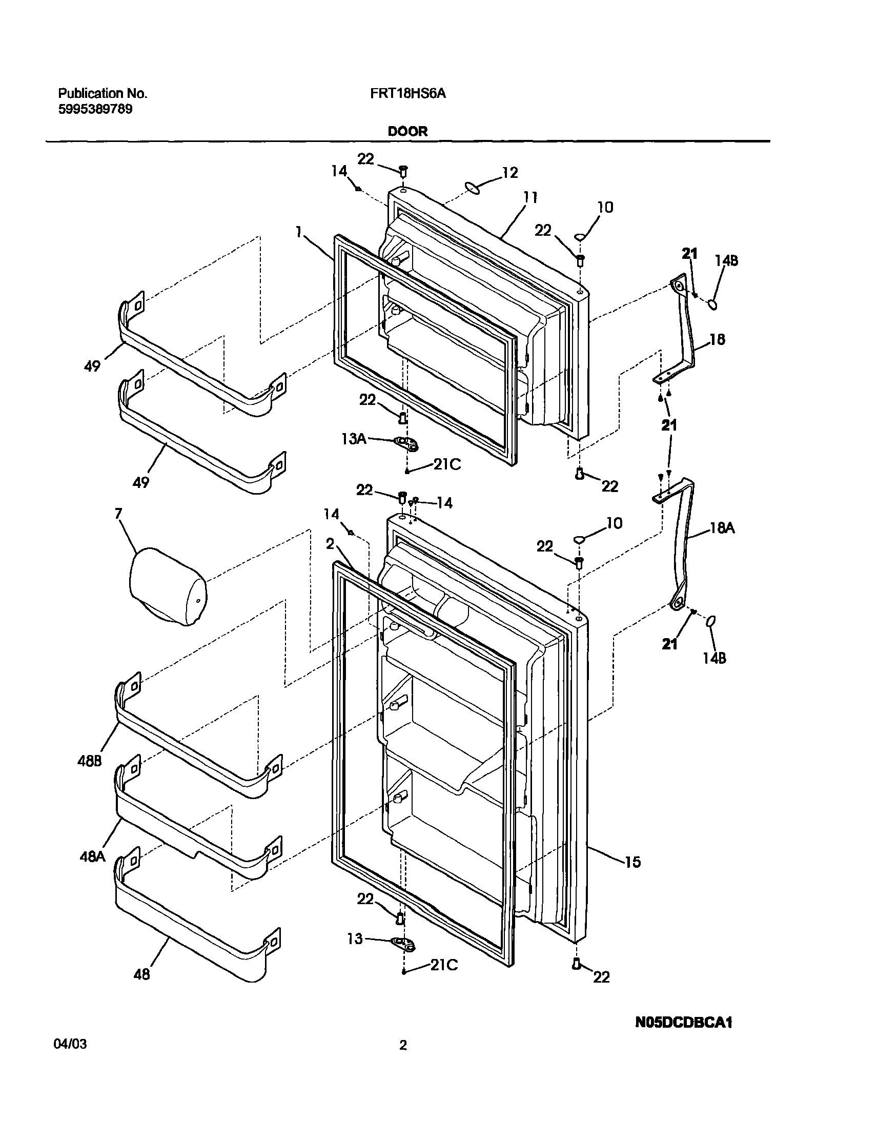
FRT18HS6AW1 03 – DOOR