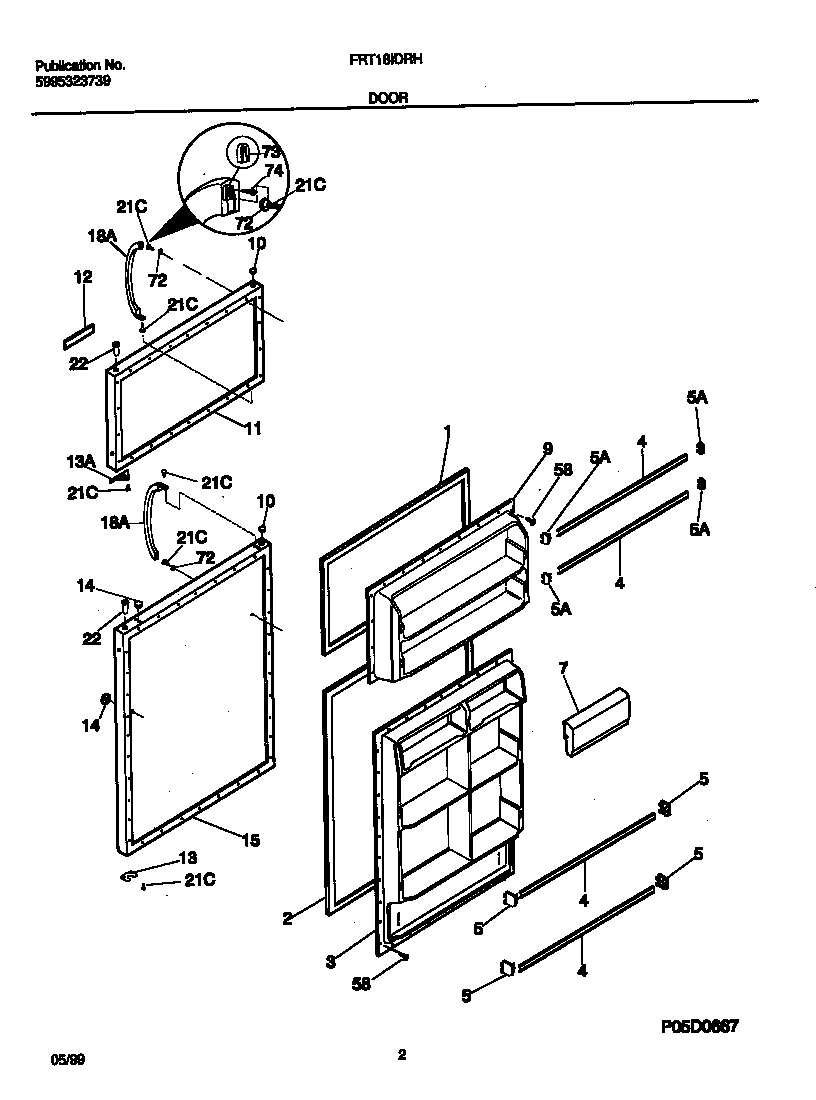
FRT18IDRHD0 02 – DOORS