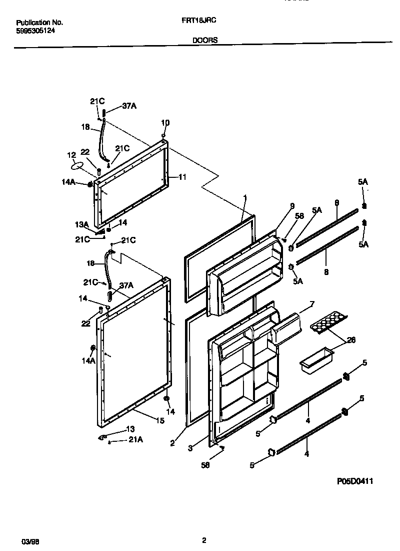
FRT18JRCW4 02 – DOORS