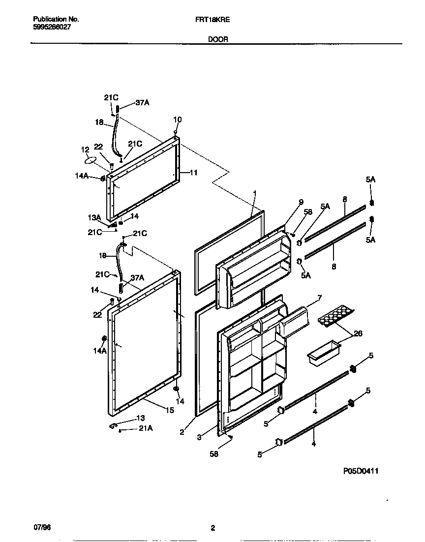
FRT18KRED1 02 – DOOR