| *39960 | WCI 215940700 |
| *39962 | INSULATION |
| *39961 | WCI 215782300 |
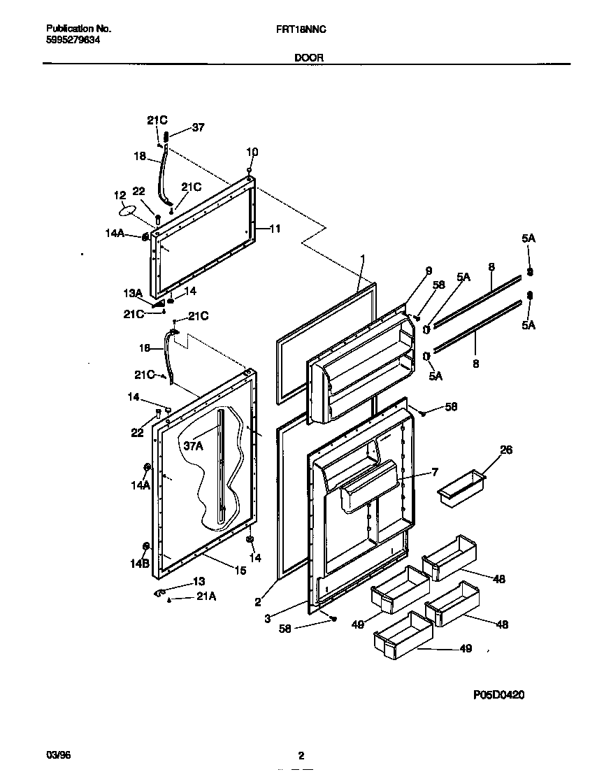
| 1 | WCI 215608916 |
| 2 | 5303207345 Frigidaire Refrigerator Door Gasket |
| 3 | WCI 218360701 |
| 5 | 218758602 Frigidaire Refrigerator Door Rack Support |
| 7 | WCI 5303308341 |
| 8 | 215516220 Frigidaire Refrigerator Door Rack |
| 9 | WCI 218360101 |
| 10 | PLUG-BUTTON, WHITE, HINGE BRG HOLE |
| 11 | WCI 5303917795 |
| 12 | WCI 218425004 |
| 13 | WCI 5308000255 |
| 13 | WCI 218249001 |
| 14 | WCI 218074001 |
| 14 | 240494001 Frigidaire Refrigerator Plug Button |
| 15 | WCI 5303917797 |
| 18 | 218668001 Frigidaire Refrigerator P-1 Handle |
| 21 | 218252201 Frigidaire Refrigerator Screw |
| 21 | SCREW, NO. 8 OVAL HEAD, 10-32 (CA) X 5/8, CROSS RECESSED |
| 22 | WCI 218519300 |
| 26 | WCI 3204522 |
| 37 | WCI 215870619 |
| 37 | WCI 215867070 |
| 48 | WCI 218592310 |
| 49 | 215441502 Frigidaire Refrigerator Door Bin |
| 58 | 216858001 Frigidaire Refrigerator Screw |