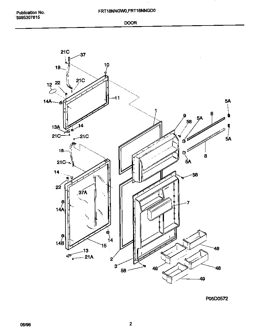
FRT18NNGD0 02 – DOOR