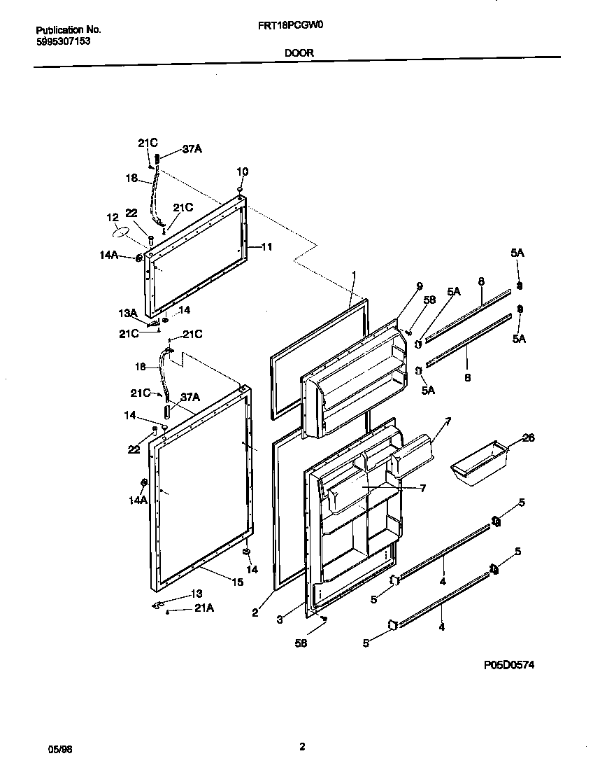
FRT18PCGW0 02 – DOORS