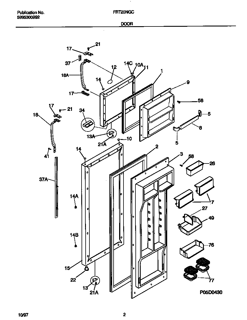
FRT20NGCD6 02 – DOOR