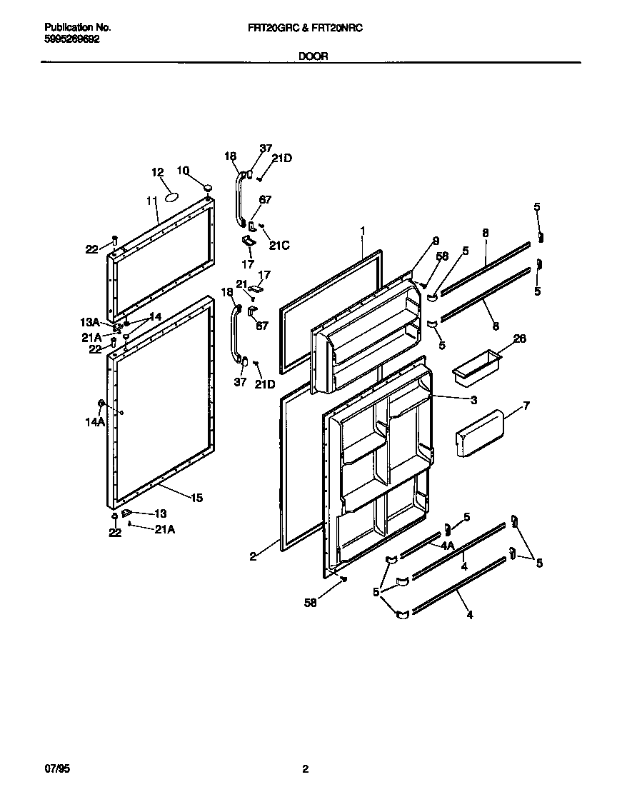
FRT20NRCW0 02 – DOOR