| NI | WCI 218490900 |
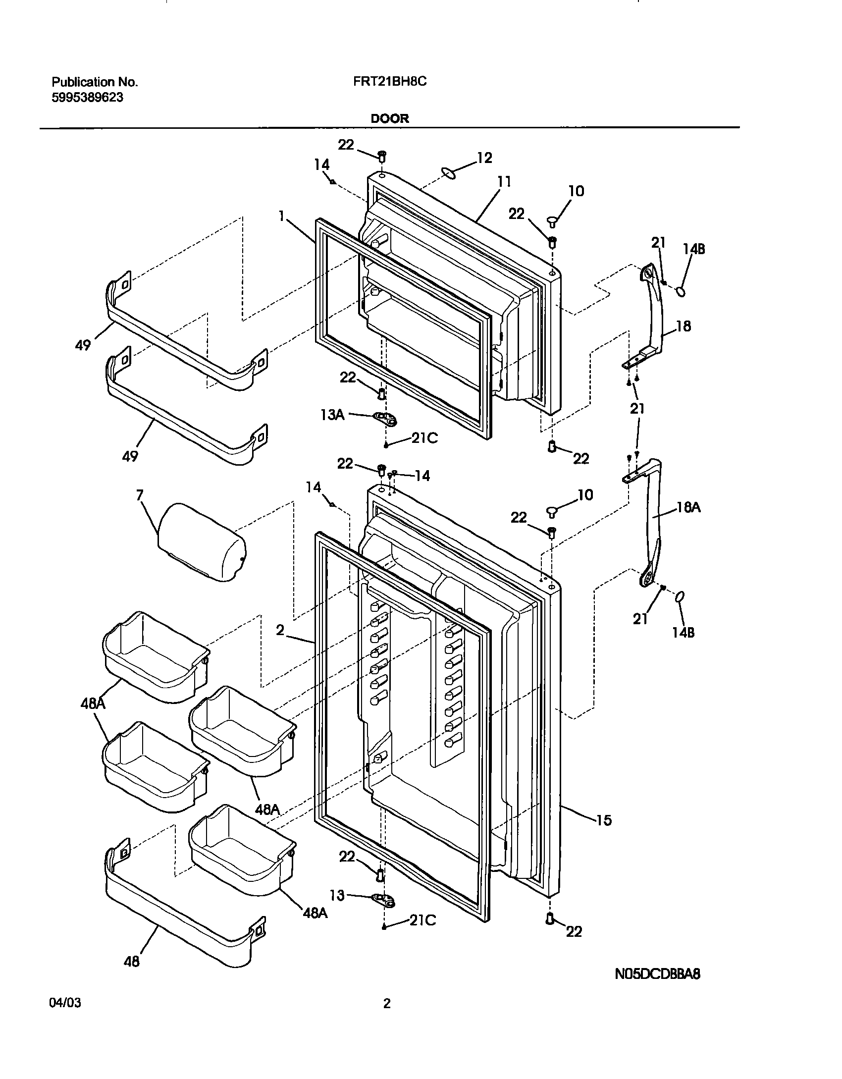
| 1 | 242193211 Frigidaire Freezer Door Gasket |
| 2 | 241872512 Frigidaire Refrigerator Door Gasket Black |
| 7 | 240338313 Frigidaire Refrigerator Dairy Door |
| 11 | WCI 240450332 |
| 12 | WCI 240449707 |
| 13A | WCI 240312406 |
| 13 | 240312422 Frigidaire Refrigerator Door Stop |
| 14B | WCI 240383603 |
| 15 | WCI 240450435 |
| 18A | WCI 240339208 |
| 18 | WCI 240339203 |
| 21C | 218252201 Frigidaire Refrigerator Screw |
| 21 | 5304515677 Frigidaire Package of 4 Screws |
| 22 | 5304507147 Frigidaire Refrigerator Hinge Bearing |
| 48 | 240338101 Frigidaire Refrigerator Bottom Door Bar |
| 48A | 241808201 Frigidaire Refrigerator Door Bin |
| 49 | 240495805 Frigidaire Freezer Door Bar |