| NI | 5304455649 Frigidaire Refrigerator Screw |
| NI | 5303299664 Frigidaire Refrigerator Spacer-Shelf |
| NI | WCI 240392601 |
| NI | 3205266 Frigidaire Refrigerator Edge Protector |
| NI | WCI 240375501 |
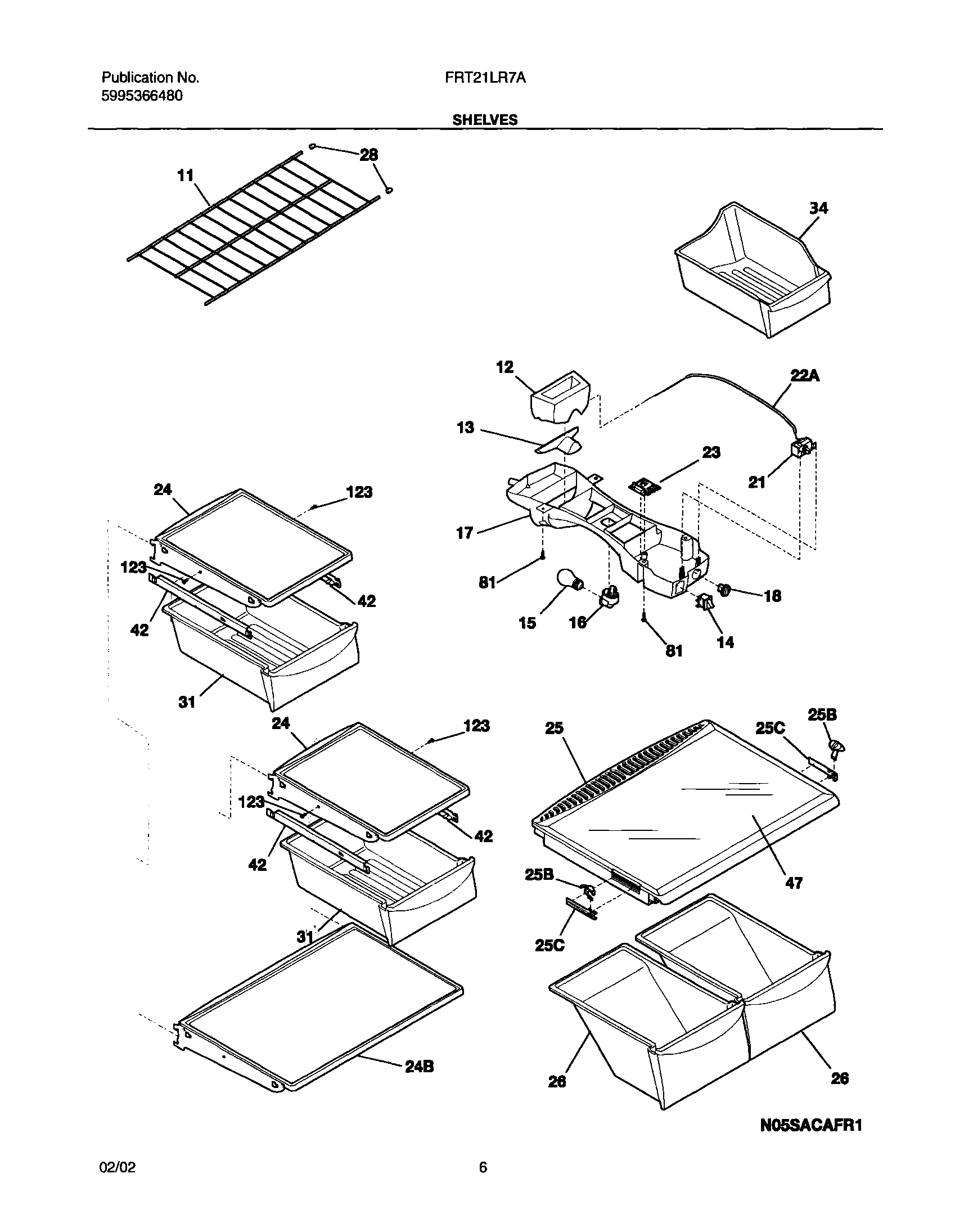
| 11 | 5304530262 Frigidaire Refrigerator Shelf |
| 12 | 240545901 Frigidaire Refrigerator Air Diffuser |
| 13 | 240362601 Frigidaire Refrigerator P1 Diffuser |
| 14 | 240505801 Frigidaire Light Switch |
| 15 | 316538904 Frigidaire Oven Lamp Light |
| 16 | 241559801 Frigidaire Light Socket Refrigerator |
| 17 | 240368105 Frigidaire Refrigerator Control Box |
| 18 | Knob-control |
| 21 | 241537103 Frigidaire Refrigerator Temperature Control Thermostat |
| 22A | 240468202 Frigidaire Refrigerator Tube |
| 23 | WCI 240375801 |
| 24 | 240355261 Frigidaire Refrigerator "Spill-Safe" Shelf |
| 24B | WCI 240408903 |
| 25B | 5304492617 Frigidaire Refrigerator Humidity Damper Kit |
| 25 | WCI 240364718 |
| 26 | CRISPER PAN |
| 28 | END CAP-SHELF,PROTECTOR |
| 31 | MEAT PAN |
| 34 | 240385201 Frigidaire Refrigerator Ice Container |
| 42 | 240356501 Frigidaire Tray Hanger Pan |
| 42 | 240365401 Frigidaire Refrigerator Meat Pan Tray Hanger Left Hand |
| 47 | 240350609 Frigidaire Refrigerator Crisper Cover Glass Shelf Insert |
| 81 | 5304455650 Frigidaire Refrigerator Screw |
| 123 | 215005101 Frigidaire Refrigerator Screw |