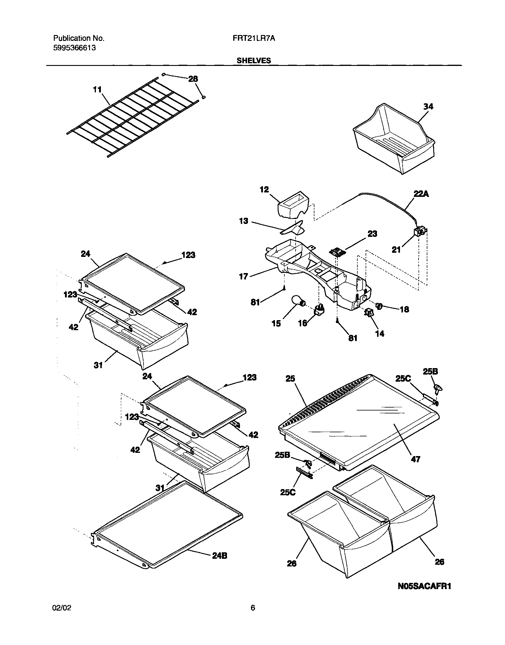
FRT21LR7AW5 07 – SHELVES