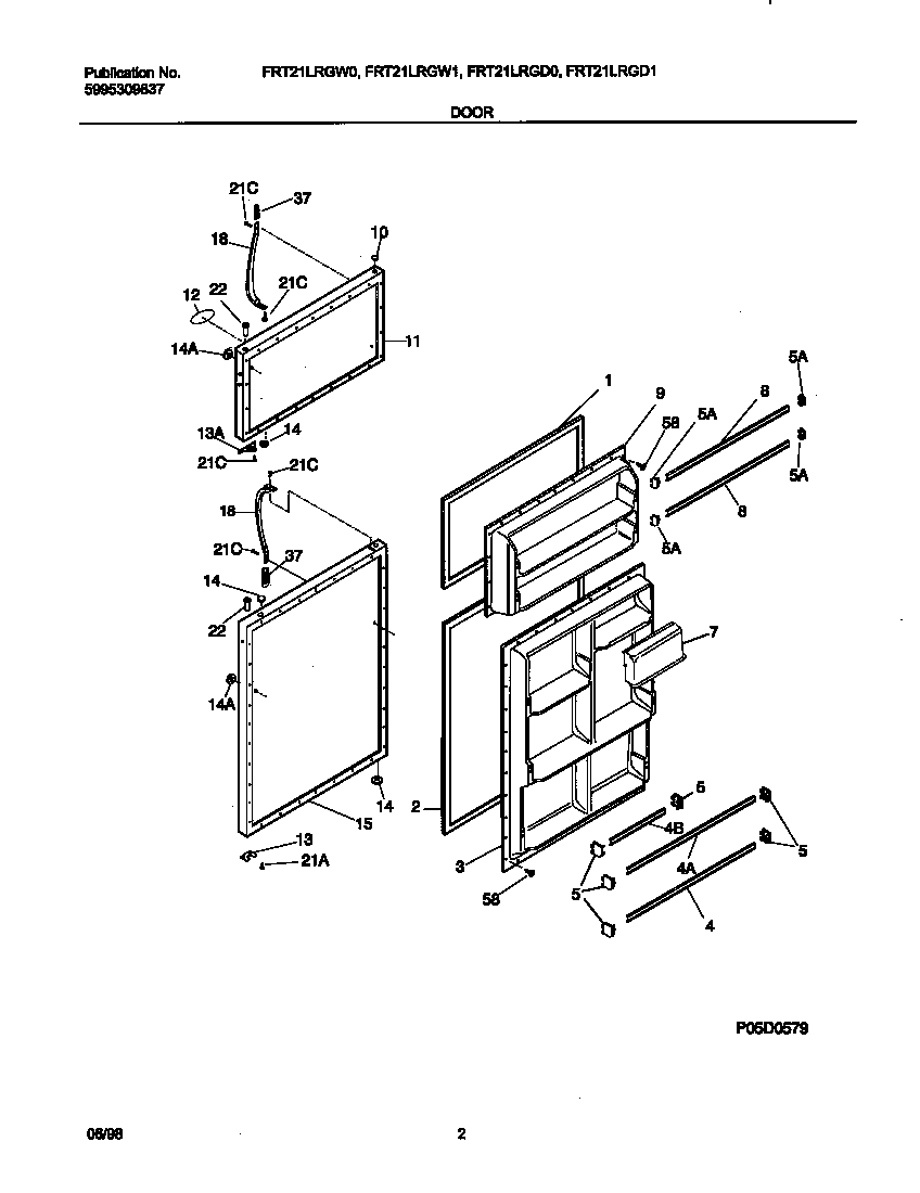
FRT21LRGW1 02 – DOOR