| *08887 | WCI 215782300 |
| *08885 | WCI 218676001 |
| *08888 | INSULATION |
| *08883 | WCI 218364001 |
| *08882 | MAGNET-NAMEPLATE (NOT ILLUSTRATED) |
| *08880 | LABEL-NAMEPLATE,WHITE |
| *08886 | WCI 215940700 |
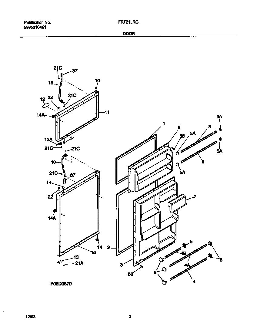
| 1 | WCI 215608913 |
| 2 | WCI 218730609 |
| 3 | WCI 215393201 |
| 4 | 215516220 Frigidaire Refrigerator Door Rack |
| 5A | 218758602 Frigidaire Refrigerator Door Rack Support |
| 5 | 218809701 Frigidaire Refrigerator Door Rack Support |
| 5B | WCI 218758701 |
| 7 | WCI 5303308341 |
| 9 | WCI 215530301 |
| 10 | PLUG-BUTTON, WHITE, HINGE BRG HOLE |
| 11 | PANEL-FRZR DOOR, WHITE, W/INSULATION |
| 12 | WCI 218156514 |
| 13 | WCI 218800300 |
| 13 | WCI 218249001 |
| 14 | 240494001 Frigidaire Refrigerator Plug Button |
| 15 | PANEL-REFR DOOR, WHITE, W/INSUL & BRACE |
| 18 | 218668001 Frigidaire Refrigerator P-1 Handle |
| 21 | SCREW, NO. 8 OVAL HEAD, 10-32 (CA) X 5/8, CROSS RECESSED |
| 21 | 218252201 Frigidaire Refrigerator Screw |
| 22 | WCI 218519300 |
| 37 | WCI 215867058 |
| 58 | Screw,No.10 pan hd ,8-18 x .5 |