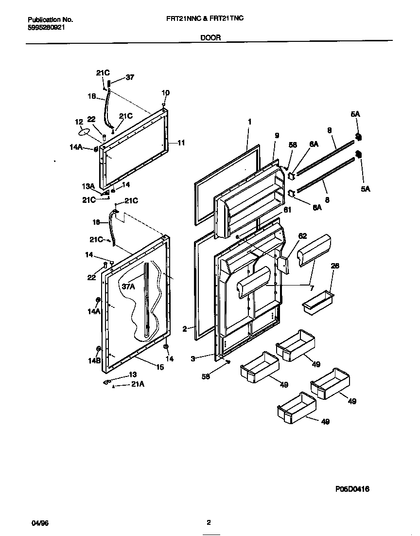
FRT21NNCD3 02 – DOOR