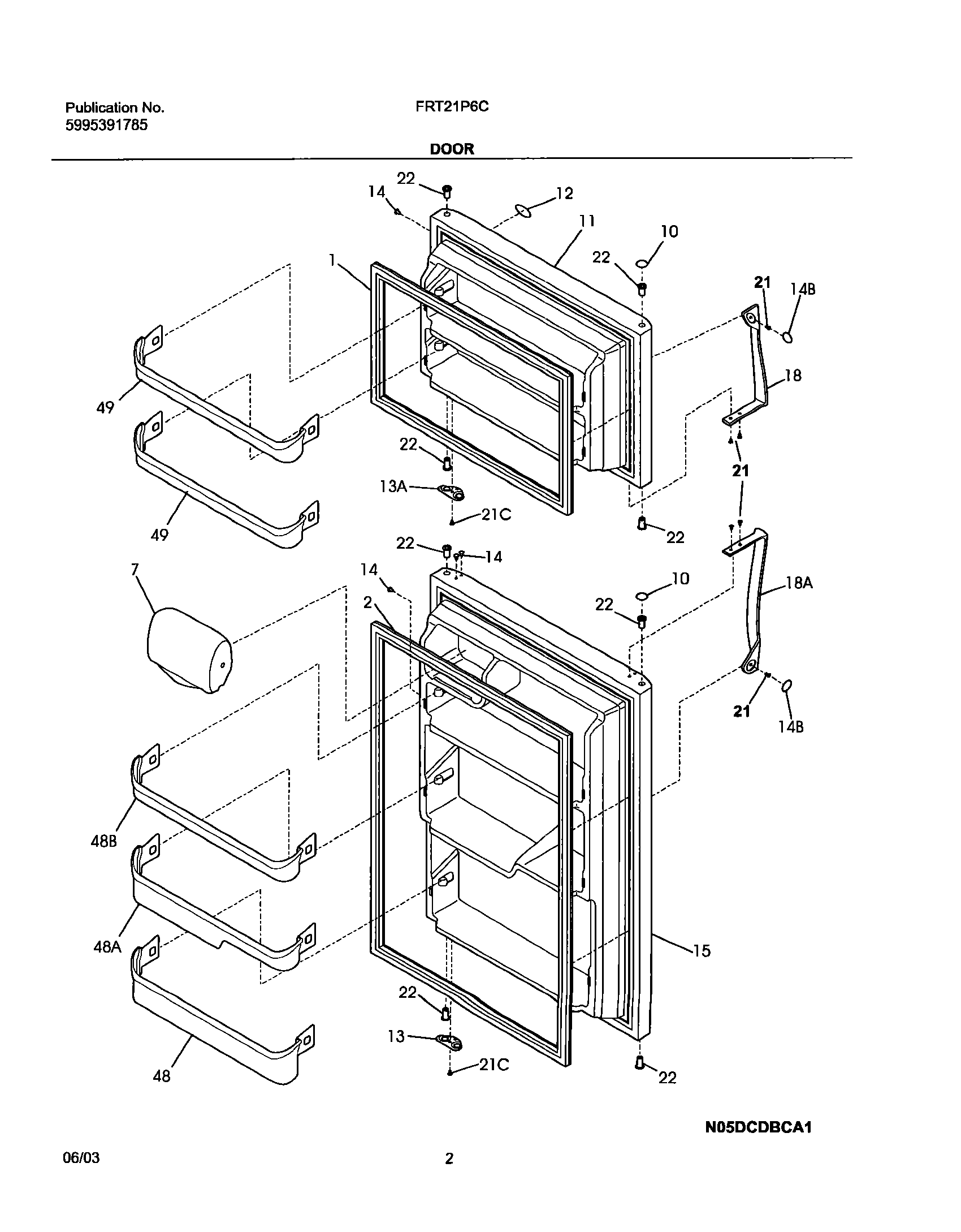
FRT21P6CW0 03 – DOOR