| *95765 | WCI 218601201 |
| *95763 | 5303321319 Frigidaire Refrigerator White Touch Up Paint |
| *95761 | PLUG, BUTTON, CABINET LINER (NI) |
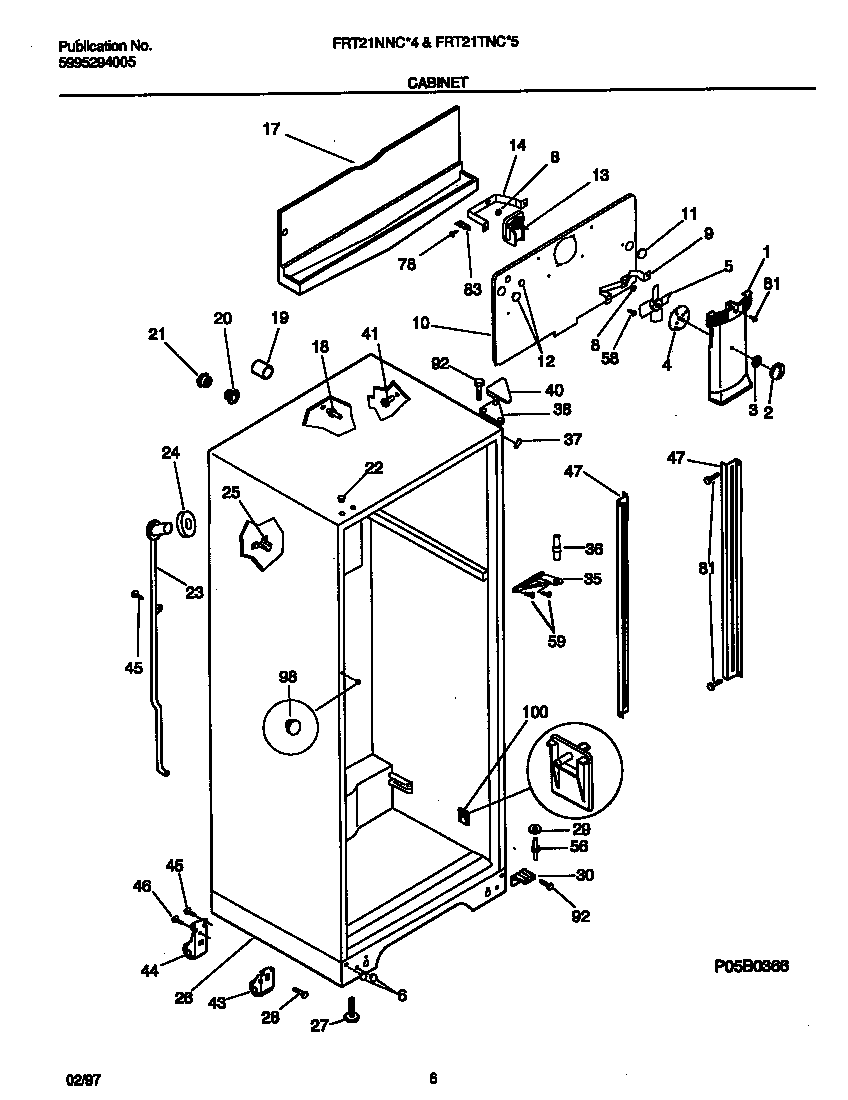
| 1 | WCI 5303307435 |
| 2 | WCI 5303307351 |
| 3 | Nut,push-on |
| 4 | WCI 218722200 |
| 5 | 5308000010 Frigidaire Refrigerator Evaporator Fan Blade |
| 6 | PLUG-BUTTON, WHITE |
| 7 | RING-FAN ORIFICE |
| 8 | G187559 Frigidaire Refrigerator Bushing |
| 9 | WCI 5303205118 |
| 10B | NUT, ``U`` TYPE, NO. 8-15(A), FAN MOTOR MOUNT (NOT ILLUSTRATED) |
| 10A | COVER, COIL |
| 11 | 5303208309 Frigidaire Refrigerator Plug Hole |
| 13 | 5300158289 Frigidaire Evaporator Fan Motor |
| 14A | BRACKET-MOTOR MTG, REAR |
| 14B | 5309918806 Frigidaire Refrigerator Light Switch Door |
| 17 | WCI 5303001470 |
| 18 | SUPPORT - EVAP COVER, (2) |
| 19 | TUBE-RUBBER |
| 20 | WCI 5303001286 |
| 21 | WCI 5303001287 |
| 22 | 215774901 Frigidaire Refrigerator Button Plug |
| 23 | WCI 5303210377 |
| 24 | WCI 5303207353 |
| 25A | WCI 215774100 |
| 25B | WCI 5303001361 |
| 26 | WCI 218605101 |
| 27 | Screw-leveling,(2) |
| 28 | BOLT-ROLLER ADJ, HEX HD, 1/4-28 X 2.750 |
| 29 | WCI 218666700 |
| 30B | WCI 218605200 |
| 30C | WCI 218605300 |
| 30A | WCI 218220200 |
| 35 | BRACKET-CTR HINGE, LIGHT GREY |
| 36 | 218251300 Frigidaire Refrigerator Center Hinge Pin |
| 37 | TRIM-CABINET CORNER, WHITE |
| 38B | TAPPING PLATE, UPPER HINGE (2) (NOT ILLUSTRATED) |
| 38A | WCI 3206100 |
| 40 | WCI 3206101 |
| 41A | 5304509705 Frigidaire Refrigerator Grommet |
| 41B | 5304500407 Frigidaire Refrigerator Shelf Mounting Grommet |
| 43B | WCI 5308009790 |
| 43A | WCI 218703001 |
| 44 | WCI 218713600 |
| 45 | 5304455651 Frigidaire Refrigerator Screw |
| 46 | BOLT-ROLLER MTG, HEX WASHER HEAD, 1/4-28 X 1/2, (2) |
| 47 | WCI 218233300 |
| 56 | 5303001321 Frigidaire Refrigerator Lower Hinge Pin |
| 59 | 240442708 Frigidaire Refrigerator Screw-#10-32 X 3/4 |
| 83 | WCI 5308000107 |
| 92 | 241710601 Frigidaire Refrigerator Screw |
| 98 | 215099701 Frigidaire Refrigerator Button Plug |
| 100 | SUPPORT-PAN COVER |
| 101 | 5304455650 Frigidaire Refrigerator Screw |