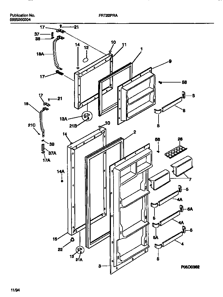
FRT22PRAD1 02 – DOOR SECTIONadmin2025-04-26T10:55:50+00:00FRT22PRAD1 02 – DOOR SECTION ProductsPositionProduct*74320INSULATION1WCI 2157767052WCI 2157324073WCI 2152782014215516220 Frigidaire Refrigerator Door Rack5WCI 2152514015AWCI 2152515017WCI 53033045699WCI 21527830110WCI 530329241411PANEL-FRZR DOOR, ALMOND, W/FOAM INSULATN12WCI 21500860213WCI 530328952213AWCI 21503001114AWCI 21535221114WCI 21535211115WCI 21530781117AWCI 21802530217WCI 21802560218HANDLE-DOOR, DARK PUTTY, REFR18AHANDLE-DOOR, DARK PUTTY, FRZR21CWCI 21573270021WCI 21520140021BWCI 21521870021AWCI 21521860022WCI 530328932026215817806 Frigidaire Refrigerator Egg Tray37AWCI 21802540237WCI 21802540738WCI 215620101585304455651 Frigidaire Refrigerator Screw