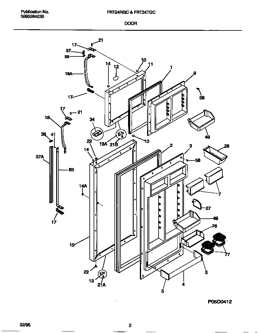
FRT24RGCB0 02 – DOOR