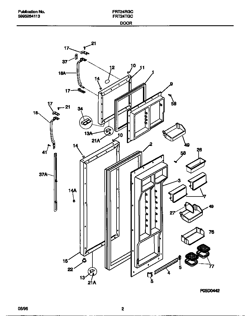
FRT24RGCD2 02 – DOOR