| *27600 | INSULATION |
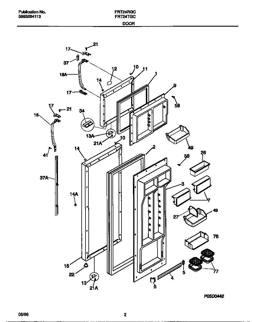
| 1 | WCI 215608914 |
| 2 | WCI 5303292420 |
| 3 | WCI 215816801 |
| 4 | 215516220 Frigidaire Refrigerator Door Rack |
| 5 | 218758602 Frigidaire Refrigerator Door Rack Support |
| 7 | DOOR-DAIRY |
| 9 | WCI 215004301 |
| 10 | WCI 5303292413 |
| 11 | WCI 5303318942 |
| 12 | WCI 215008604 |
| 12 | TAPE, ADHESIVE, 12`` LG, FOAM, DOUBLE-FACED (NOT ILLUSTRATED) |
| 12 | WCI 218364004 |
| 13 | WCI 5303289522 |
| 13 | WCI 215030001 |
| 14 | WCI 215352101 |
| 14 | 240494001 Frigidaire Refrigerator Plug Button |
| 15 | WCI 215210201 |
| 17 | WCI 218696401 |
| 18 | WCI 215983201 |
| 18 | WCI 215981301 |
| 21 | 218578600 Frigidaire Refrigerator Door Stop Mounting Screw |
| 21 | SCREW-HANDLE MTG, FLAT HEAD, 0-16AB X 0.625 |
| 22 | WCI 5303289320 |
| 26 | WCI 3204522 |
| 27 | SNUGGER-DOOR BIN, ``PADDLE TYPE``, GALLON DOOR BIN |
| 34 | WCI 215423601 |
| 37 | WCI 215867079 |
| 37 | WCI 218549826 |
| 37 | WCI 215940700 |
| 41 | 218843801 Frigidaire Refrigerator Screw |
| 49 | WCI 218592307 |
| 58 | 216858001 Frigidaire Refrigerator Screw |
| 76 | WCI 218423700 |
| 77 | WCI 218423501 |