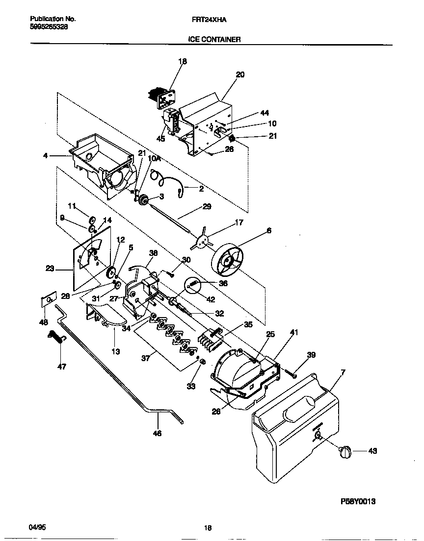
FRT24XHAD2 08 – ICE CONTAINERadmin2025-04-26T09:43:00+00:00FRT24XHAD2 08 – ICE CONTAINER ProductsPositionProduct2WCI 2182329003WCI 2182323004BLABEL-ICE CONTAINER (NOT ILLUSTRATED)4AWCI 2182169005WCI 2157481056WCI 2157528007WCI 2154216019WCI 21541970010241726501 Frigidaire Refrigerator Drive Bar10WCI 21823280011WCI 21575520012WCI 21542040013WCI 21828520014WCI 21541990017WCI 21575480018A5304462594 Frigidaire Refrigerator Motor-Auger18BWCI 21583290020WCI 21537940223CSTUD (NOT ILLUSTRATED)23BRING-RETAINER (NOT ILLUSTRATED)23AWCI 21575530025WCI 21542140026215503203 Frigidaire Refrigerator Door Handle Screw27WCI 21574840028WCI 21575510029WCI 21575750230WCI 21575730031WCI 21575740032AWCI 21574750132BRING-SNAP (NOT ILLUSTRATED)33WCI 21574820034WCI 21574830035WCI 21575350036WCI 21575670037AWCI 21590670037KWCI 21590660037GWCI 21590640037BBLADE-CRUSHER, NO. 1 (NOT ILLUSTRATED)37CBLADE-CRUSHER, NO. 2 (NOT ILLUSTRATED)37DBLADE-CRUSHER, NO. 3 (NOT ILLUSTRATED)37IRING-SNAP (NOT ILLUSTRATED)37HSHAFT-CRUSHER (NOT ILLUSTRATED)37JSPACER, (2) (NOT ILLUSTRATED)37FBLADE-CRUSHER, NO. 5 (NOT ILLUSTRATED)37EBLADE-CRUSHER, NO. 4 (NOT ILLUSTRATED)38WCI 21827010039WCI 21575700041WCI 21827020042WCI 21575600043AWCI 21575500343BSPRING-KNOB (NOT ILLUSTRATED)44WCI 21835920045WCI 21593590146WCI 21828530247WCI 21525480048WCI 215898200