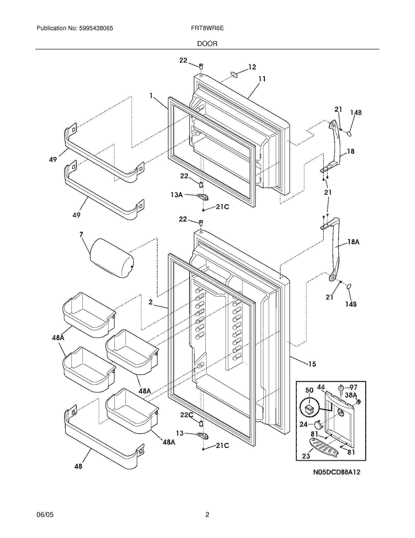
FRT8WR6EB4 03 – DOOR