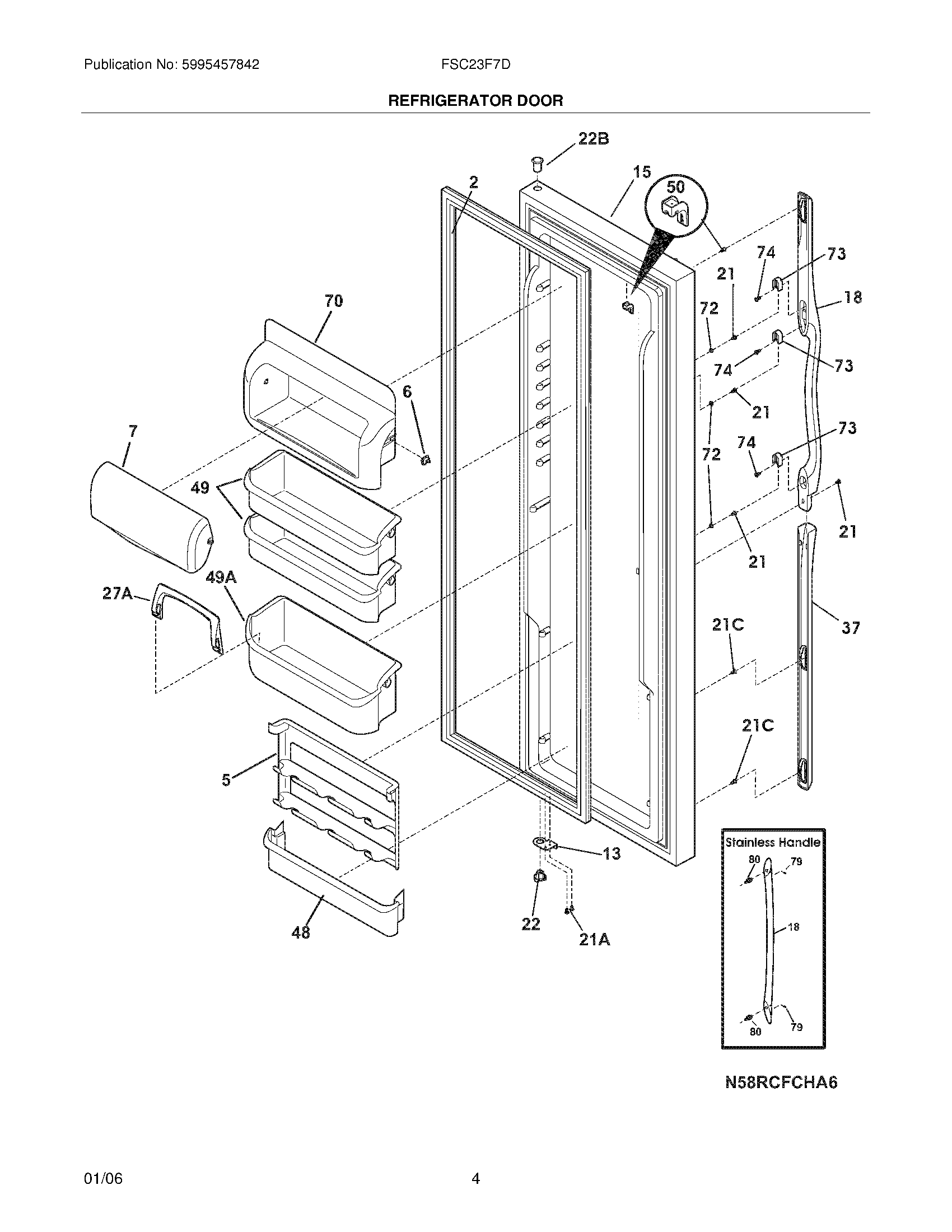
FSC23F7DSB6 05 – REFRIGERATOR DOORadmin2025-04-26T09:18:54+00:00FSC23F7DSB6 05 – REFRIGERATOR DOOR ProductsPositionProduct2241510203 Frigidaire Refrigerator Door OS2 Gasket5WCI 2415161026241515901 Frigidaire Refrigerator Dairy Compartment Lug7241515606 Frigidaire Refrigerator Door-Dairy13240581905 Frigidaire Refrigerator Door Stop15WCI 24153453318WCI 24053680121A240598402 Frigidaire Refrigerator Screw21218781101 Frigidaire Handle Screw22B240328404 Frigidaire Refrigerator Upper Door Hinge Bearing22240328203 Frigidaire Refrigerator Door Hinge Bearing27A240396102 Frigidaire Refrigerator Retainer48241511701 Frigidaire Refrigerator Door Bin49241505301 Frigidaire Refrigerator Shelf Bin-Door (2 Liter)49A241505501 Frigidaire Refrigerator Door Bin50WCI 24150840170241515801 Frigidaire Refrigerator Compartment74215503203 Frigidaire Refrigerator Door Handle Screw79218755402 Frigidaire Refrigerator Set Screw80218755504 Frigidaire Refrigerator Shoulder Screw