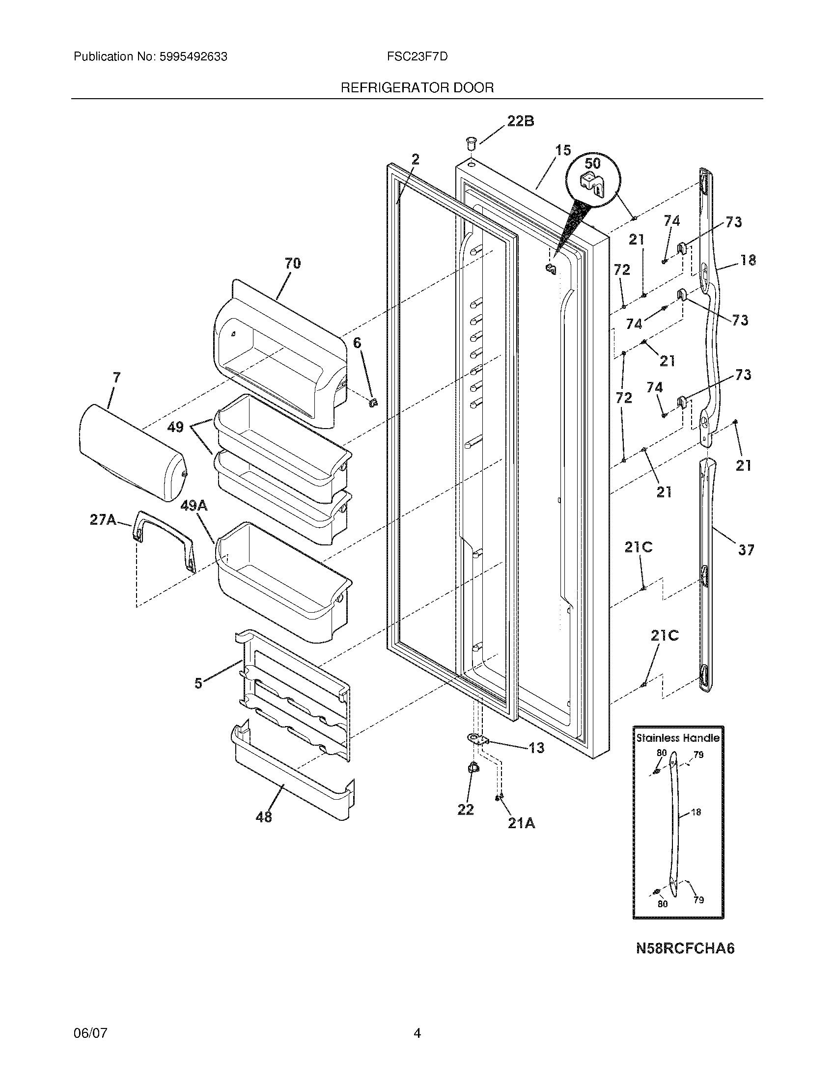
FSC23F7DWC 05 – REFRIGERATOR DOORadmin2025-04-26T09:19:15+00:00FSC23F7DWC 05 – REFRIGERATOR DOOR ProductsPositionProduct2241510201 Frigidaire Refrigerator Door Gasket OS25WCI 2415161026241515901 Frigidaire Refrigerator Dairy Compartment Lug7241515606 Frigidaire Refrigerator Door-Dairy13240581901 Frigidaire Refrigerator Door Stop15WCI 24153450418WCI 24171170121CWCI 24052130421218781101 Frigidaire Handle Screw21A240598402 Frigidaire Refrigerator Screw22BBearing-hinge,upper22240328201 Frigidaire Refrigerator Hinge Bearing27A240396102 Frigidaire Refrigerator Retainer37WCI 24171160148241511701 Frigidaire Refrigerator Door Bin49A241505501 Frigidaire Refrigerator Door Bin49241505301 Frigidaire Refrigerator Shelf Bin-Door (2 Liter)50WCI 24150840170241515801 Frigidaire Refrigerator Compartment72WCI 24042170173218396700 Frigidaire Door Handle Mounting Block74WCI 215503204