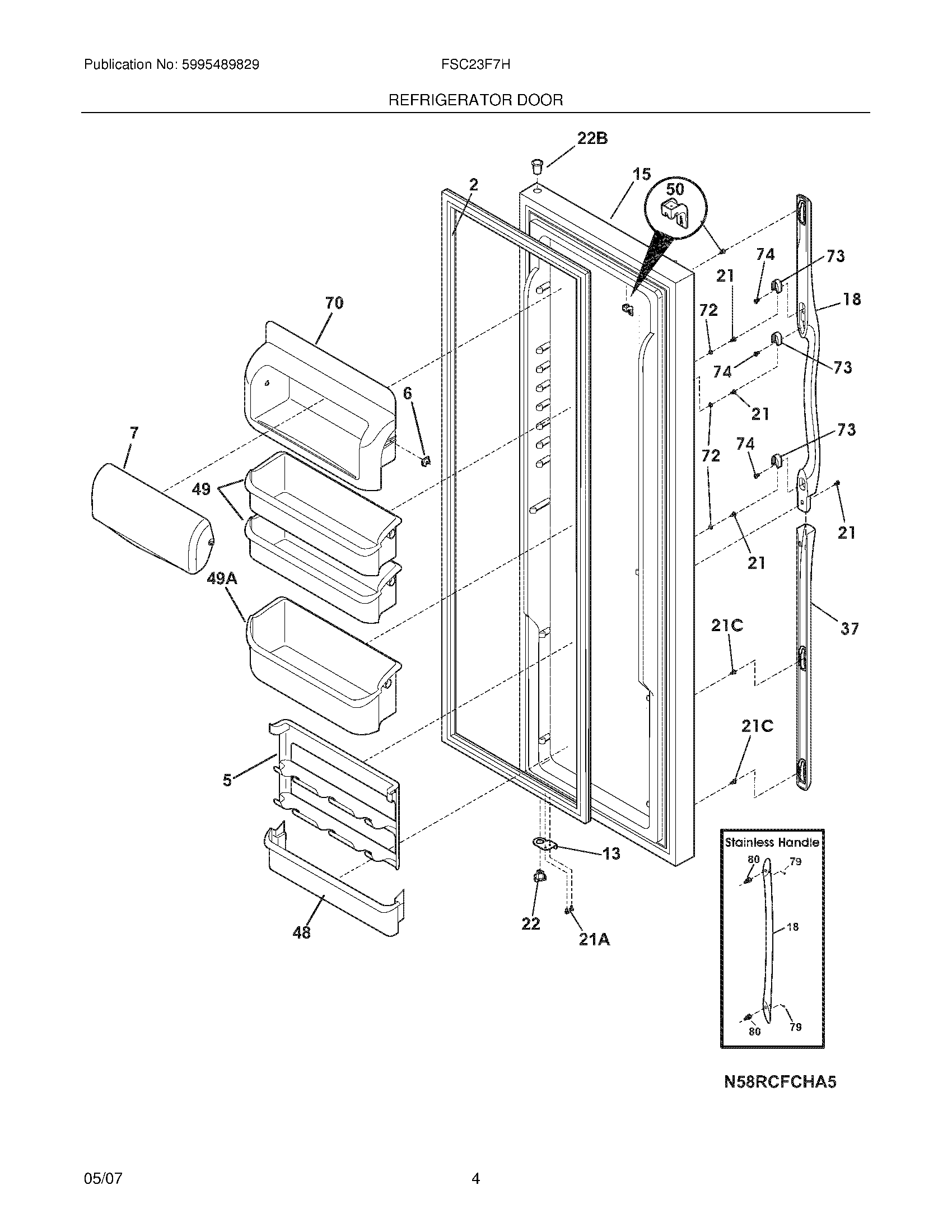
FSC23F7HB1 05 – REFRIGERATOR DOORadmin2025-04-26T09:17:58+00:00FSC23F7HB1 05 – REFRIGERATOR DOOR ProductsPositionProductNIWCI 2417799012241510203 Frigidaire Refrigerator Door OS2 Gasket5WCI 2415161026241515901 Frigidaire Refrigerator Dairy Compartment Lug7241515606 Frigidaire Refrigerator Door-Dairy13240581905 Frigidaire Refrigerator Door Stop15Door-refr,complete assy18WCI 24171170221218781101 Frigidaire Handle Screw21CWCI 24052130421A240598402 Frigidaire Refrigerator Screw22240328203 Frigidaire Refrigerator Door Hinge Bearing22B240328404 Frigidaire Refrigerator Upper Door Hinge Bearing37WCI 24171160248241511701 Frigidaire Refrigerator Door Bin49AWCI 24178000149A241505501 Frigidaire Refrigerator Door Bin49241505301 Frigidaire Refrigerator Shelf Bin-Door (2 Liter)50WCI 24150840170241515801 Frigidaire Refrigerator Compartment72WCI 24042170173218396700 Frigidaire Door Handle Mounting Block74WCI 215503204