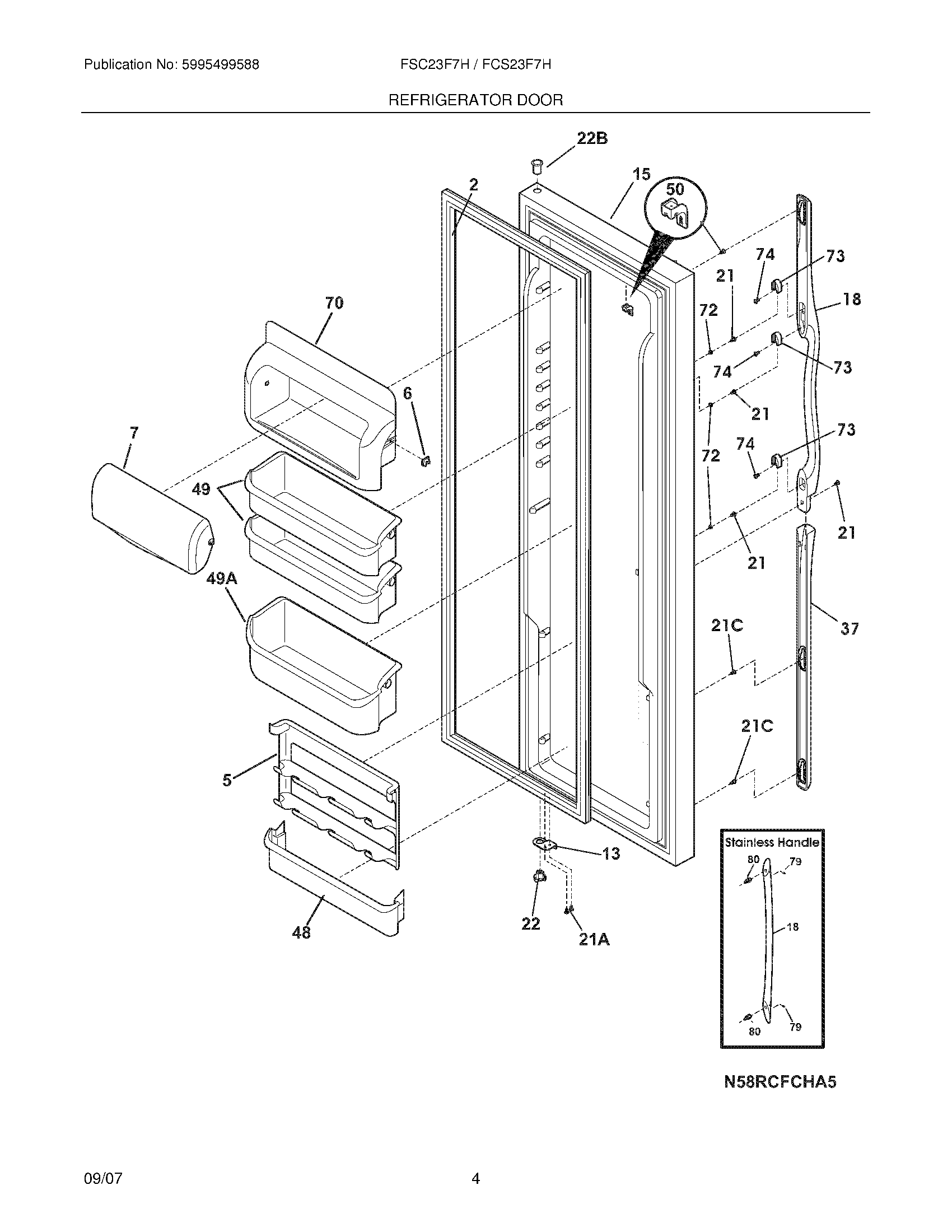
FSC23F7HW6 05 – REFRIGERATOR DOORadmin2025-04-26T09:19:11+00:00FSC23F7HW6 05 – REFRIGERATOR DOOR ProductsPositionProductNIWCI 2417799012241510201 Frigidaire Refrigerator Door Gasket OS25WCI 2415161026241515901 Frigidaire Refrigerator Dairy Compartment Lug7241515606 Frigidaire Refrigerator Door-Dairy13240581901 Frigidaire Refrigerator Door Stop15WCI 24153450418WCI 24171170121CWCI 24052130421218781101 Frigidaire Handle Screw21A240598402 Frigidaire Refrigerator Screw22240328201 Frigidaire Refrigerator Hinge Bearing22B240328402 Frigidaire Refrigerator Bearing Hinge37WCI 24171160148241511701 Frigidaire Refrigerator Door Bin49241505301 Frigidaire Refrigerator Shelf Bin-Door (2 Liter)49A241505501 Frigidaire Refrigerator Door Bin49AWCI 24178000150WCI 24150840170241515801 Frigidaire Refrigerator Compartment72WCI 24042170173218396700 Frigidaire Door Handle Mounting Block74WCI 215503204