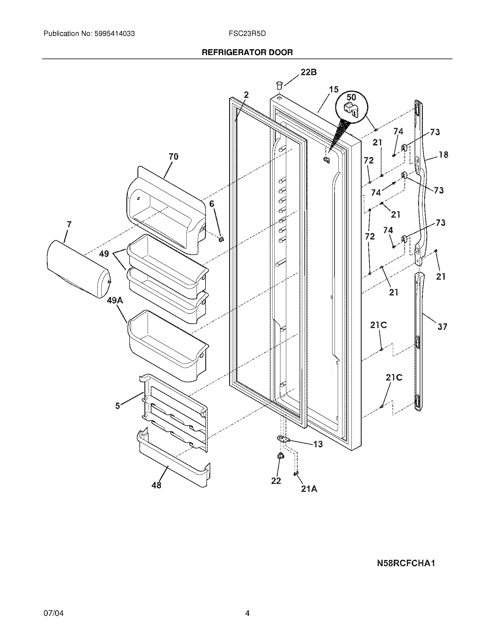
FSC23R5DB0 05 – REFRIGERATOR DOORadmin2025-04-26T09:18:52+00:00FSC23R5DB0 05 – REFRIGERATOR DOOR ProductsPositionProduct2241510203 Frigidaire Refrigerator Door OS2 Gasket5WCI 2415161016241515901 Frigidaire Refrigerator Dairy Compartment Lug7241515606 Frigidaire Refrigerator Door-Dairy135303918455 Frigidaire Refrigerator Adjustable Hinge Kit15WCI 24153450718Handle-door,black21218781101 Frigidaire Handle Screw21A5304455650 Frigidaire Refrigerator Screw21CWCI 24052130222240328203 Frigidaire Refrigerator Door Hinge Bearing22BBearing-hinge,upper37WCI 24035920348241511706 Frigidaire Refrigerator Door Bin49A241505506 Frigidaire Refrigerator Door Bin49241505306 Frigidaire Refrigerator Door Bin50WCI 24150840170241515801 Frigidaire Refrigerator Compartment72WCI 24042170173218396700 Frigidaire Door Handle Mounting Block74215503203 Frigidaire Refrigerator Door Handle Screw