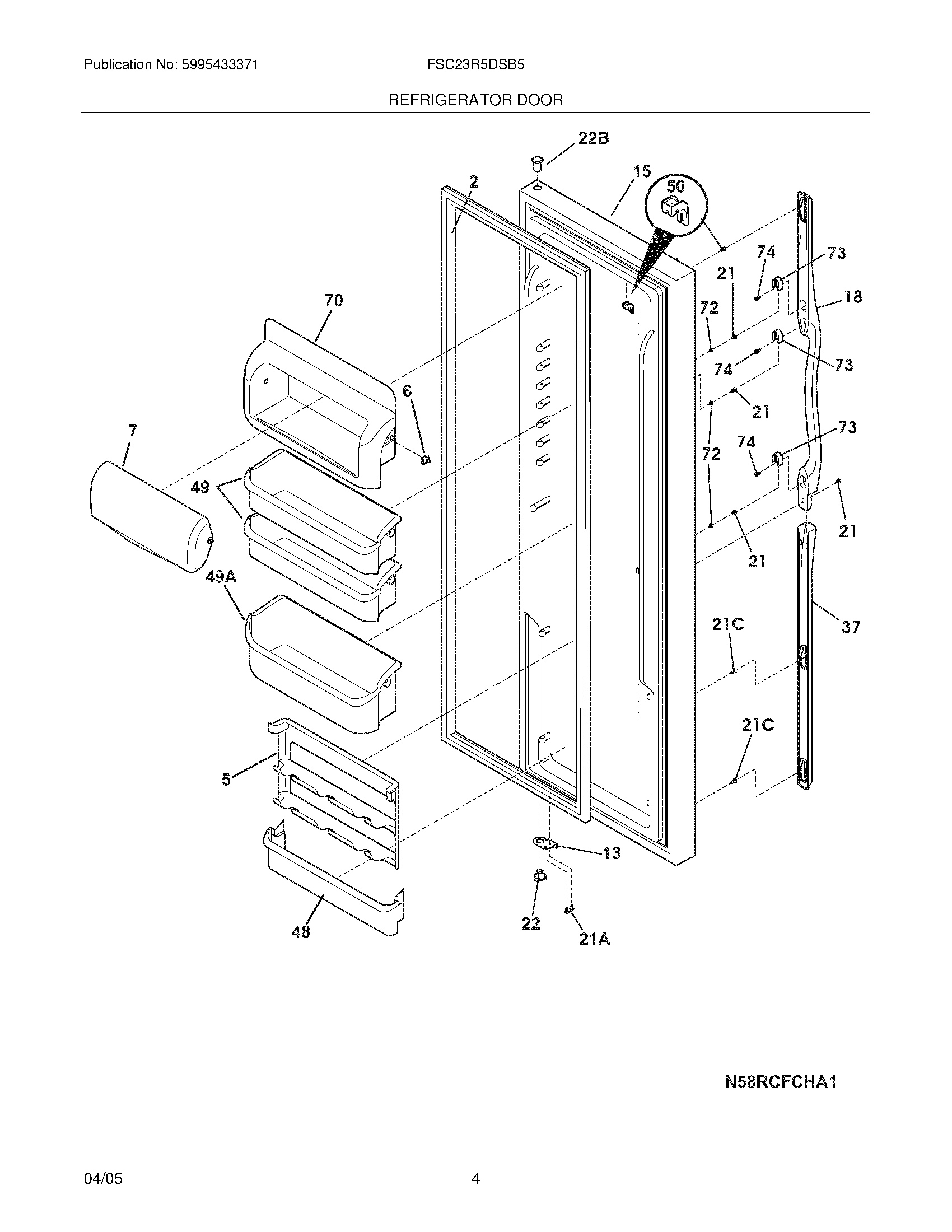
FSC23R5DSB5 05 – REFRIGERATOR DOORadmin2025-04-26T09:19:37+00:00FSC23R5DSB5 05 – REFRIGERATOR DOOR ProductsPositionProductNIWCI 2184909012241510203 Frigidaire Refrigerator Door OS2 Gasket5WCI 2415161016241515901 Frigidaire Refrigerator Dairy Compartment Lug7241515606 Frigidaire Refrigerator Door-Dairy13240581905 Frigidaire Refrigerator Door Stop15WCI 24153452518Handle-door,black21CWCI 24052130221218781101 Frigidaire Handle Screw21A240598402 Frigidaire Refrigerator Screw22240328203 Frigidaire Refrigerator Door Hinge Bearing22BBearing-hinge,upper37WCI 24035920348241511706 Frigidaire Refrigerator Door Bin49241505306 Frigidaire Refrigerator Door Bin49A241505506 Frigidaire Refrigerator Door Bin50WCI 24150840170241515801 Frigidaire Refrigerator Compartment72WCI 24042170173218396700 Frigidaire Door Handle Mounting Block74215503203 Frigidaire Refrigerator Door Handle Screw