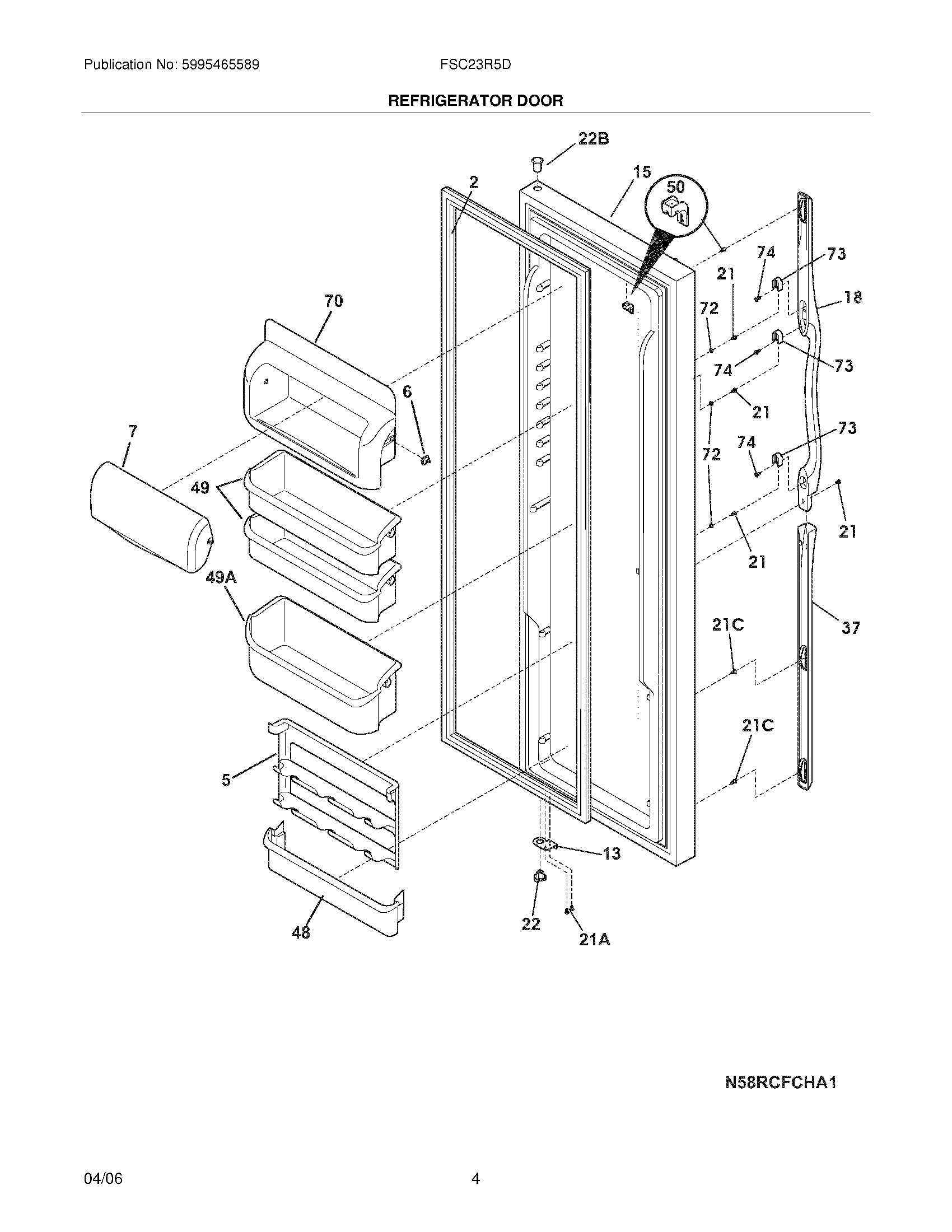
FSC23R5DW8 05 – REFRIGERATOR DOOR