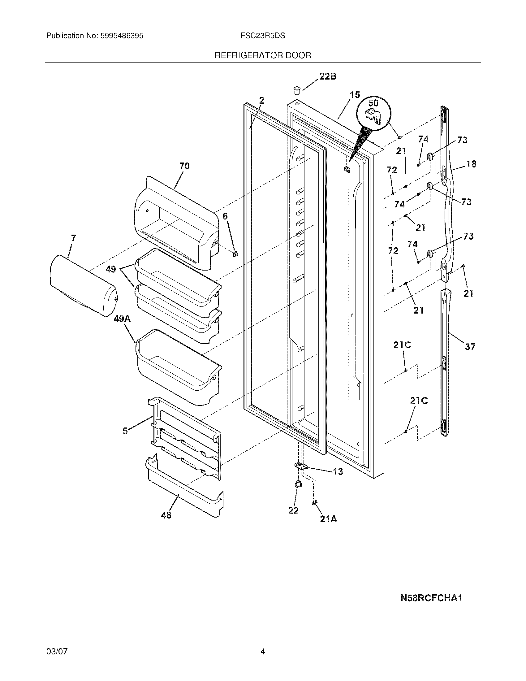
FSC23R5DWB 05 – REFRIGERATOR DOORadmin2025-04-26T09:16:32+00:00FSC23R5DWB 05 – REFRIGERATOR DOOR ProductsPositionProduct2241510201 Frigidaire Refrigerator Door Gasket OS25WCI 2415161016241515901 Frigidaire Refrigerator Dairy Compartment Lug7241515606 Frigidaire Refrigerator Door-Dairy13240581901 Frigidaire Refrigerator Door Stop15WCI 24153450618WCI 24171170121218781101 Frigidaire Handle Screw21CWCI 24052130421A240598402 Frigidaire Refrigerator Screw22240328201 Frigidaire Refrigerator Hinge Bearing22B240328402 Frigidaire Refrigerator Bearing Hinge37WCI 24171160148241511706 Frigidaire Refrigerator Door Bin49241505306 Frigidaire Refrigerator Door Bin49A241505506 Frigidaire Refrigerator Door Bin50WCI 24150840170241515801 Frigidaire Refrigerator Compartment72WCI 24042170173218396700 Frigidaire Door Handle Mounting Block74WCI 215503204