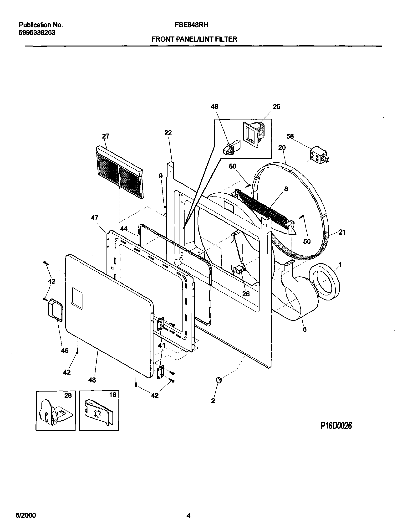
FSE848RHQ0 05 – FRONT PANEL / LINT FILTERadmin2025-04-26T09:17:34+00:00FSE848RHQ0 05 – FRONT PANEL / LINT FILTER ProductsPositionProductNI5308027429 Frigidaire Dryer High Temperature AdhesiveNIWCI 131657500NIWCI 131474700NI131843500 Frigidaire Washer Appliance Lamp Light Bulb Assembly1134417000 Frigidaire Seal2WCI 1313970026WCI 1316219008ASMY-MOIST SENSOR/HARN STACK9WCI 13163320216WCI 131063700205303937139 Frigidaire Dryer Felt Seal and Glide Kit Drum215303283286 Frigidaire Drum Felt Seal Lower Front22WCI 13184590525131658800 Frigidaire Dryer Door Catch Repair Kit26134813601 Frigidaire Dryer Door Switch 3-Wire27131450300 Frigidaire Dryer Lint Screen Filter28CLIP GUIDE (4)41134222900 Frigidaire Dryer Door Hinge42134156200 Frigidaire Screw44137551901 Frigidaire Gasket46WCI 13164470247WCI 13184410448Door-outer bsq dryer & LC495303207102 Frigidaire Door Strike50131302800 Frigidaire Drum Vane Screw