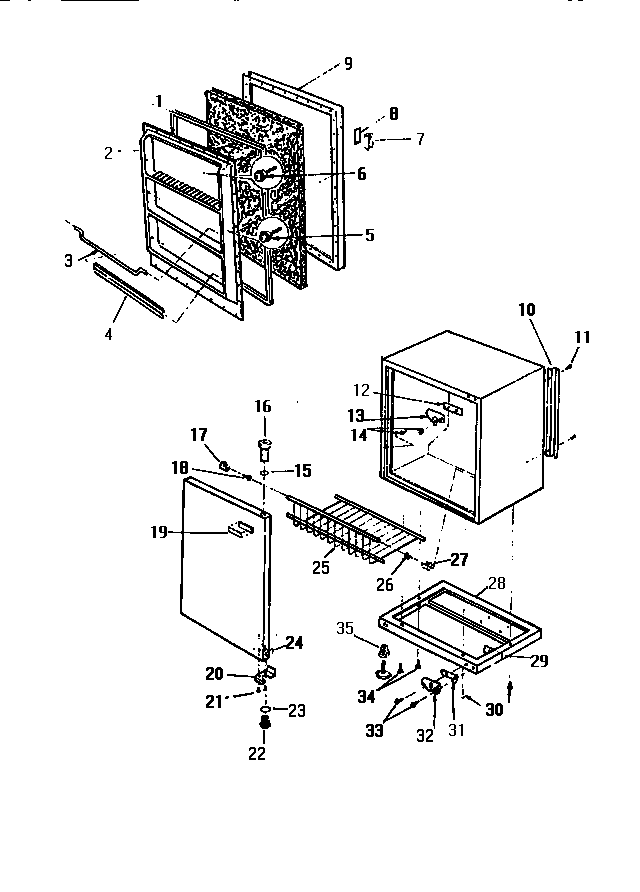
FU054ERW2 02 – DOOR