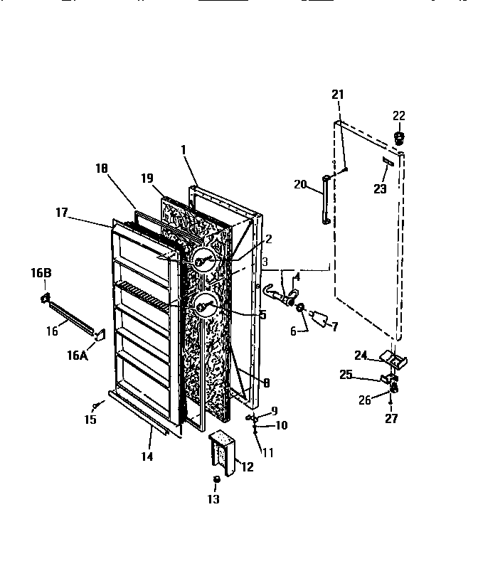
| 1 | WCI F122112-64 |
| 2 | SCREW (16) |
| 3 | LOCK COMPRESSOR |
| 4 | CLIP, LOCK |
| 5 | SCREW (24) |
| 6 | WASHER |
| 7 | 297147700 Frigidaire Freezer Plastic Door Key |
| 8 | WIRE ADJUSTING (2) |
| 9 | WCI F57880 |
| 10 | WASHER BRACKET (2) |
| 11 | SCREW, BRACKET (2) |
| 12 | AIR DUCT BREATHER |
| 14 | WCI F99439 |
| 15 | 5303922007 Frigidaire Refrigerator Clip,Pkg 0F 24 |
| 16 | WCI F124675 |
| 16A | 5303925377 Frigidaire Refrigerator Endcap Kit R & L |
| 17 | WCI F124568-64 |
| 18 | GASKET DOOR |
| 19 | WCI F116277 |
| 20 | WCI F119889 |
| 21 | WCI F97614 |
| 23 | WCI G177290 |
| 24 | BRACKET-DOOR STOP |
| 25 | STO DOOR |
| 26 | WCI F84893 |
| 27 | SCREW-STOP |