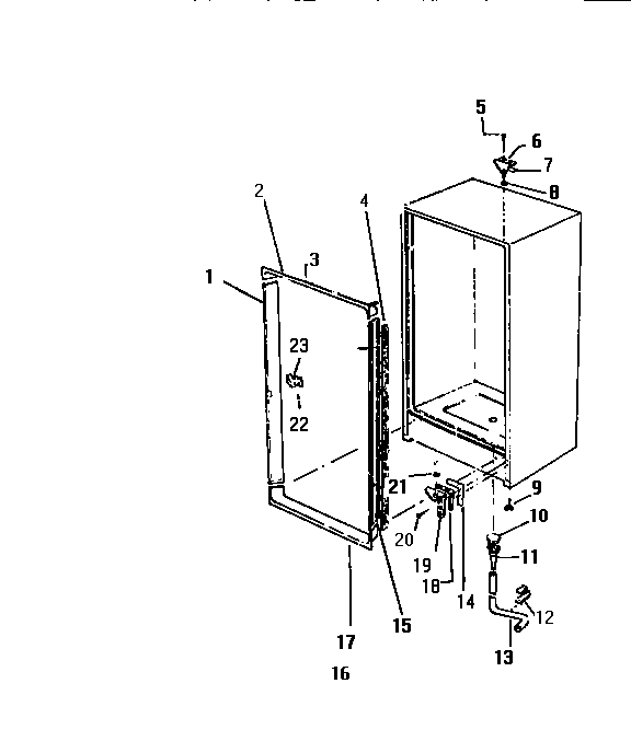
| 1 | WCI F121320-64 |
| 2 | WCI F121239-64 |
| 3 | SPACER, TOP BREAKER (2) |
| 4 | INSULATION, DIKES |
| 5 | SCREW-HINGE-FRONT |
| 6 | WCI F124621 |
| 7 | PLATE-TOP |
| 8 | BEARING, HINGE (3) |
| 9 | WCI Q13325 |
| 11 | 5304511843 Frigidaire Refrigerator Sleeve |
| 12 | WCI F122718 |
| 13 | 5304512272 Frigidaire Hose Drain |
| 14 | WCI F84948 |
| 15 | WCI F121458-64 |
| 16 | WIRING HARNESSES ARE NOT AVAILABLE FOR THIS MODEL |
| 17 | WCI F121241-64 |
| 18 | WCI F120978 |
| 19 | WCI F84943 |
| 20 | 154518001 Frigidaire Refrigerator Screw |
| 21 | WCI F900126 |
| 22 | 216858001 Frigidaire Refrigerator Screw |
| 23 | WCI F117634 |