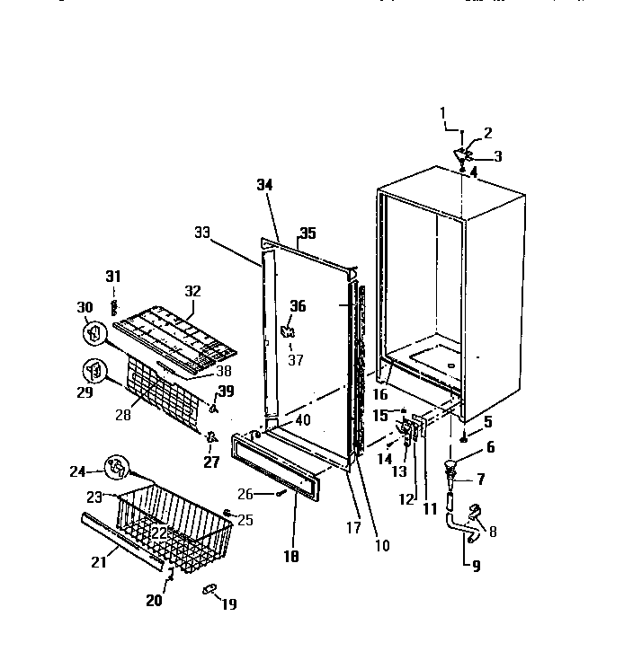
FU196ERW3 03 – CABINET