| *67801 | USE COMPR. MTG KIT, 7 X 7 TO 4 X 6-1/2 MTG |
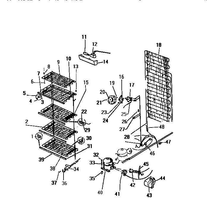
| 1 | 297001600 Frigidaire Shelf Support |
| 2 | WCI F119997-4 |
| 3 | WASHER (3) |
| 4 | WCI F57966 |
| 5 | WCI F50732 |
| 6 | WCI F115299 |
| 7 | WCI F116209-3 |
| 8 | SPCR-TOPGRID FRONT (2) |
| 9 | WCI F119996-4 |
| 10 | WCI F120026 |
| 11 | WCI C501867 |
| 12 | SOCKET |
| 13 | WCI F86523 |
| 14 | WCI F122434 |
| 15 | WCI F116208-5 |
| 16 | BRKT |
| 17 | CONTROL TEMP. |
| 18 | 5300083897 Frigidaire Refrigerator Condenser P1 O/S2 |
| 19 | SCREW CONTROL |
| 20 | WCI F122435 |
| 21 | SCREW KNOB |
| 22 | SCREW-CLAMP |
| 23 | 216858001 Frigidaire Refrigerator Screw |
| 24 | SHIELD, COLD CONTROL |
| 25 | TUBE |
| 26 | WCI F112321 |
| 27 | 5303289051 Frigidaire Refrigerator Light Switch |
| 28 | WCI Q88067 |
| 29 | WCI F96850 |
| 30 | WCI F117447 |
| 31 | SUPT FRONT RH (3) |
| 32 | WCI F59211 |
| 33 | SLEEVE |
| 34 | WCI F116294 |
| 35 | 216498900 Frigidaire Refrigerator Grommet |
| 36 | WCI F115065 |
| 37 | SCREW (5) |
| 38 | WCI F116211-3 |
| 39 | WCI F119270-3 |
| 40 | COMPRESSOR W/ELECT. |
| 41 | WCI G150618-05 |
| 42 | WCI F99021 |
| 43 | COVER |
| 44 | 5303006412 Frigidaire Refrigerator Cover Mounting Strap |
| 45 | RETAINER |
| 46 | 5304455846 Frigidaire Refrigerator Clamp |
| 47 | CLIP |
| 48 | DRIER-REGULAR |
| 48 | WCI R900125 |