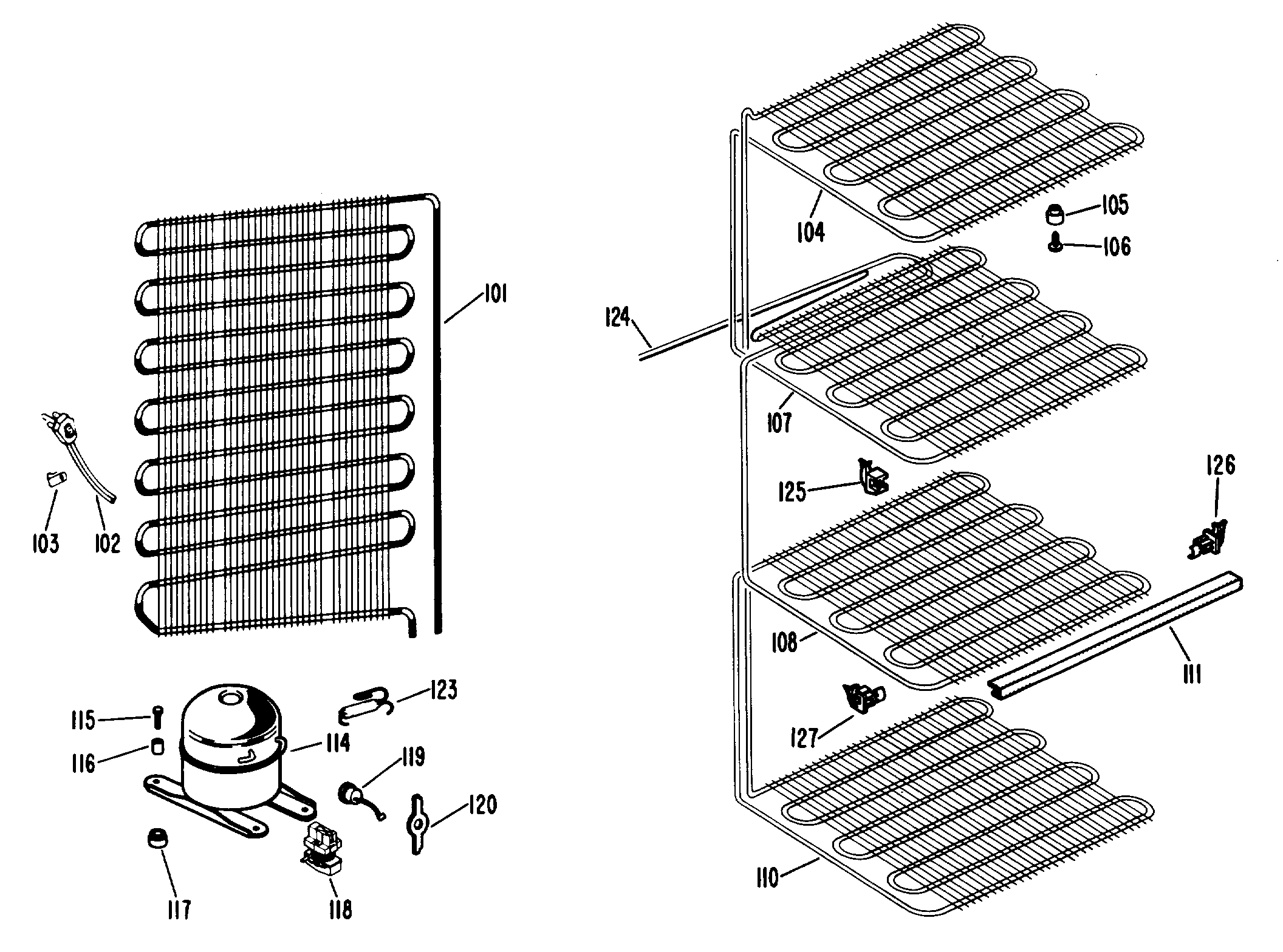
FV10CFC 2