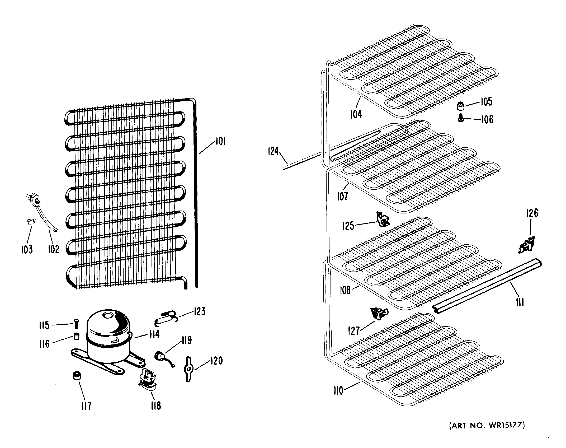
FV13CJB 2