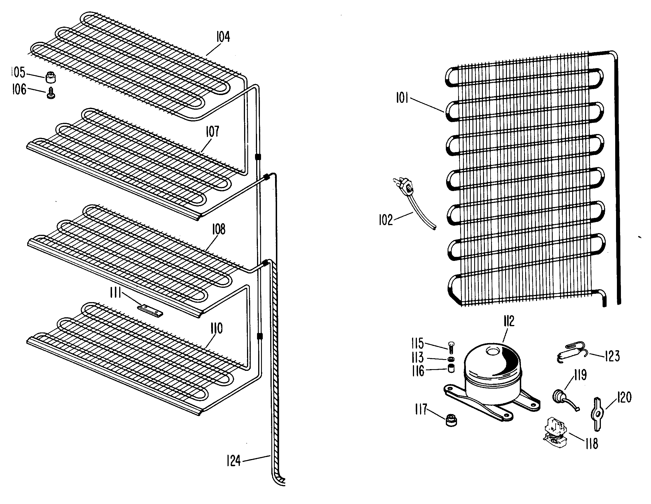
| 101 | GEN WR84X0048 |
| 102 | WR23X10300 GE Refrigerator Power Cord Assembly |
| 104 | GEN WR85X0098 |
| 105 | GEN WR01X6378 |
| 106 | GEN WR01X6379 |
| 107 | GEN WR85X0099 |
| 108 | GEN WR85X0100 |
| 110 | GEN WR85X0101 |
| 111 | GEN WR02X6377 |
| 111 | GEN WR01X5492 |
| 112 | REFRIGERANT |
| 112 | HI-SIDE |
| 113 | GEN WZ10X0020 |
| 115 | GEN WR01X5491 |
| 116 | GEN WR02X4315 |
| 117 | GROMMET |
| 118 | GEN WR07X5072 |
| 119 | GEN WR08X5128 |
| 120 | GEN WR02X6376 |
| 123 | WR86X25269 GE Refrigerator R134 Dryer |
| 124 | USE & CARE BOOK |
| 124 | GEN WR86X0027 |