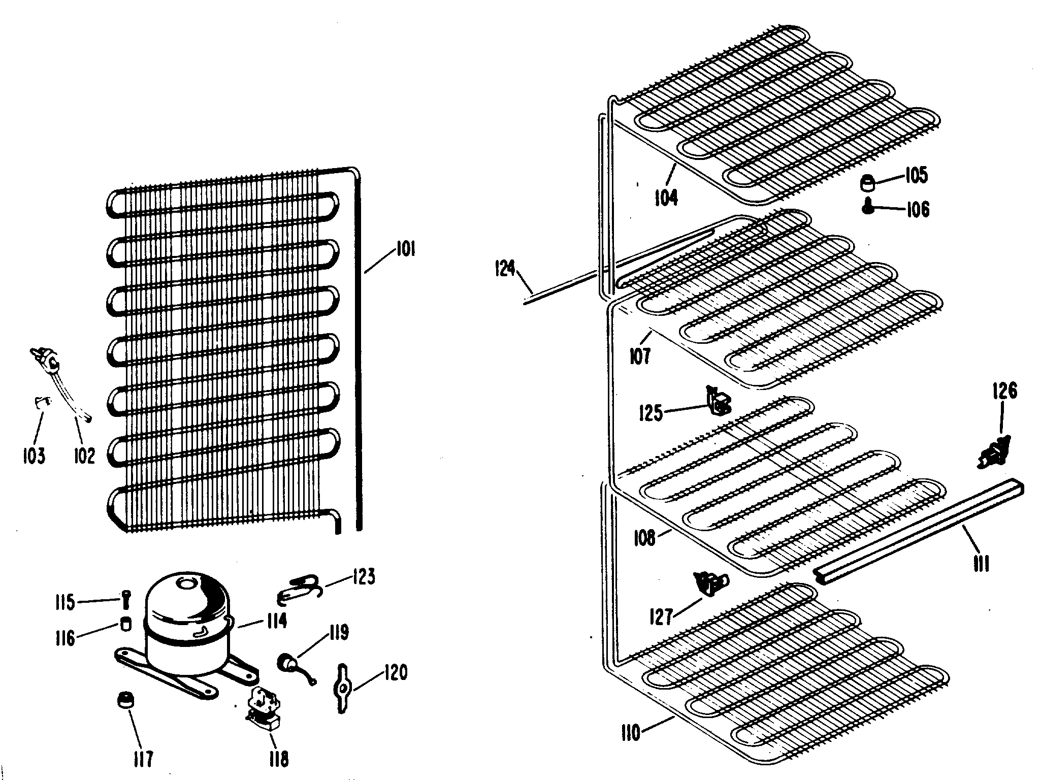
| 101 | EXTERNAL CONDENSER |
| 102 | WR23X10300 GE Refrigerator Power Cord Assembly |
| 103 | WR1X5278 GE Refrigerator Cable Clamp |
| 104 | SHELF-TOP |
| 105 | GROMMET-TOP FRONT |
| 105 | GROMMET-TOP REAR |
| 106 | SCREW-GROMMET |
| 107 | SHELF-1ST |
| 108 | SHELF-2ND |
| 110 | SHELF-BOTTOM |
| 111 | GEN WR17X5912 |
| 114 | REFRIGERANT |
| 114 | HI-SIDE |
| 115 | SCREW-GROMMET |
| 116 | SLEEVE-SCREW |
| 117 | GROMMET |
| 118 | GEN WR07X5065 |
| 119 | GEN WR05X5121 |
| 120 | SPRING-GUARDETTE |
| 123 | WR86X25269 GE Refrigerator R134 Dryer |
| 124 | GEN WR86X0068 |
| 126 | SUPPORT-REAR |
| 126 | INSERT LIGHT SHIELD FZ. |
| 127 | SUPPORT-LEFT SIDE |
| 127 | GEN 39-6177-2 |