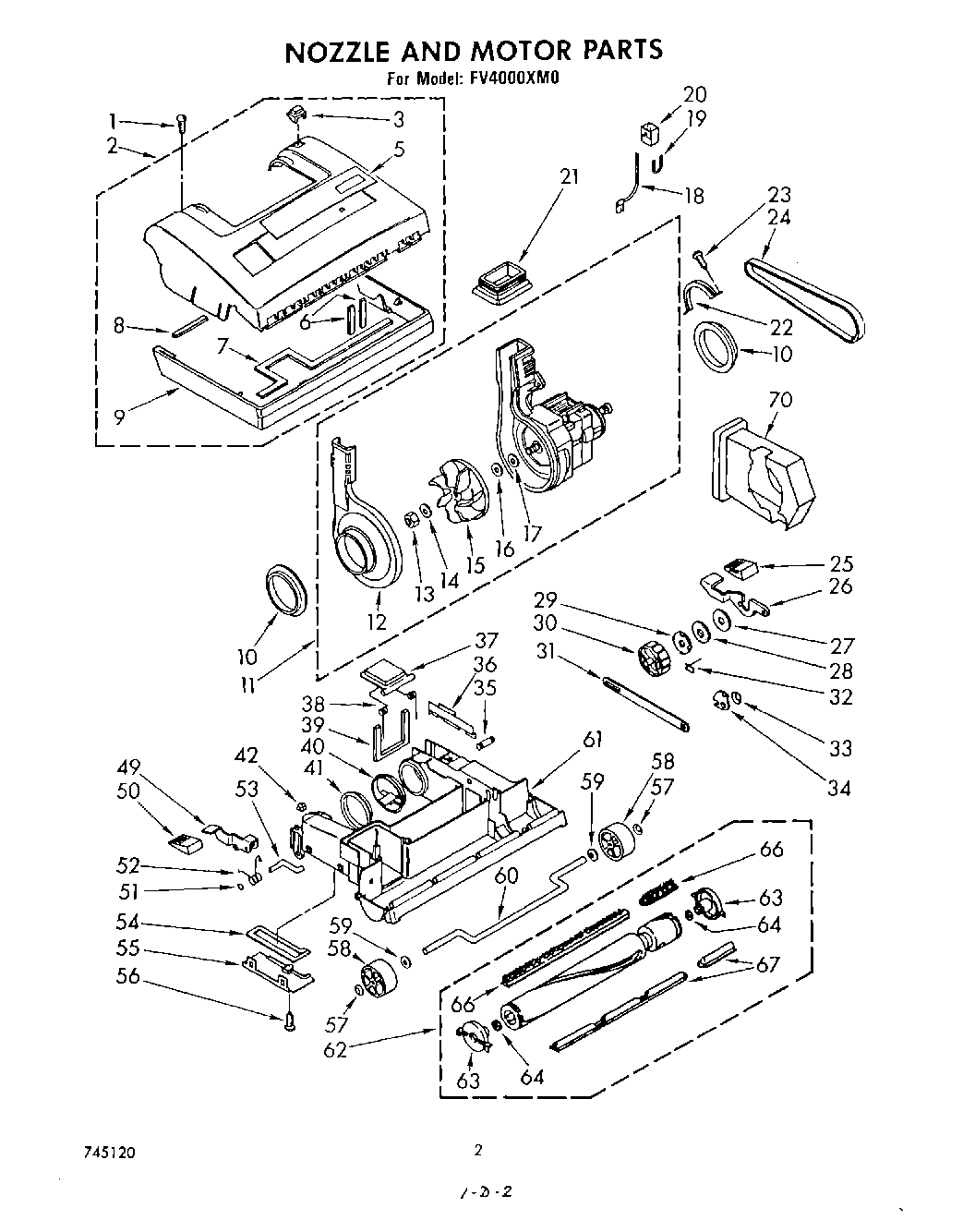
| 2 | Hood Assembly |
| 3 | Lens, Height Adjust |
| 5 | Nameplate |
| 6 | Gasket, 1-5/8`` (2) |
| 7 | Gasket, 22-1/2`` |
| 8 | Gasket, 1-3/4`` |
| 9 | Bumper |
| 10 | Ring, Rubber (2) |
| 11 | Motor |
| 12 | Cover, Impeller |
| 13 | Nut, 5/16-24 |
| 15 | Impeller |
| 16 | Washer, Fiber |
| 17 | Washer, Metal |
| 18 | Lead, Wire (Black) |
| 18 | Lead, Wire (Orange) |
| 18 | Lead, Wire (Blue) |
| 19 | Jumper, Wire (White) |
| 20 | Plug, Insulator |
| 21 | Boot, Tube |
| 22 | Bracket, Motor |
| 24 | Belt (Pkg. of 2) |
| 25 | Pad, Height Adjust |
| 26 | Lever, Height Adjust |
| 27 | Washer, Thrust |
| 28 | Washer, Foam |
| 29 | Catch, Indexing |
| 30 | Indicator Cam |
| 31 | Push Rod |
| 32 | Spring, Assist |
| 34 | Rocker |
| 35 | Bar, Tie |
| 36 | Guard, Belt |
| 37 | Door, Attachment |
| 38 | Spring, Door |
| 39 | Gasket, Door |
| 40 | Ring, Pivot Shield |
| 41 | Ring, Pivot |
| 42 | On-Sert |
| 49 | Lever, Handle Release |
| 50 | Pad, Handle Release |
| 51 | Ring, Retainer |
| 52 | Spring, Handle Release |
| 53 | Rod, Handle Release |
| 54 | Seal, Cleanout Cover |
| 55 | Cover, Cleanout (Includes Illus. 54) |
| 56 | WP488787 Whirlpool Refrigerator Screw |
| 57 | Nut, Push-On |
| 58 | Wheel, Front (2) |
| 59 | WP120393 Whirlpool Washer Assembly |
| 60 | Axle, Front |
| 61 | Base (Includes Illus. 42) |
| 62 | Brush Assembly |
| 63 | Bearing & Housing Assembly (2) |
| 64 | Washer (2) |
| 66 | Brush, Beater Set of (1) 2`` and (1) 10-1/4`` |
| 67 | Bar, Beater Set of (1) 2`` and (1) 10-1/4`` |
| 70 | WPL 745146 |