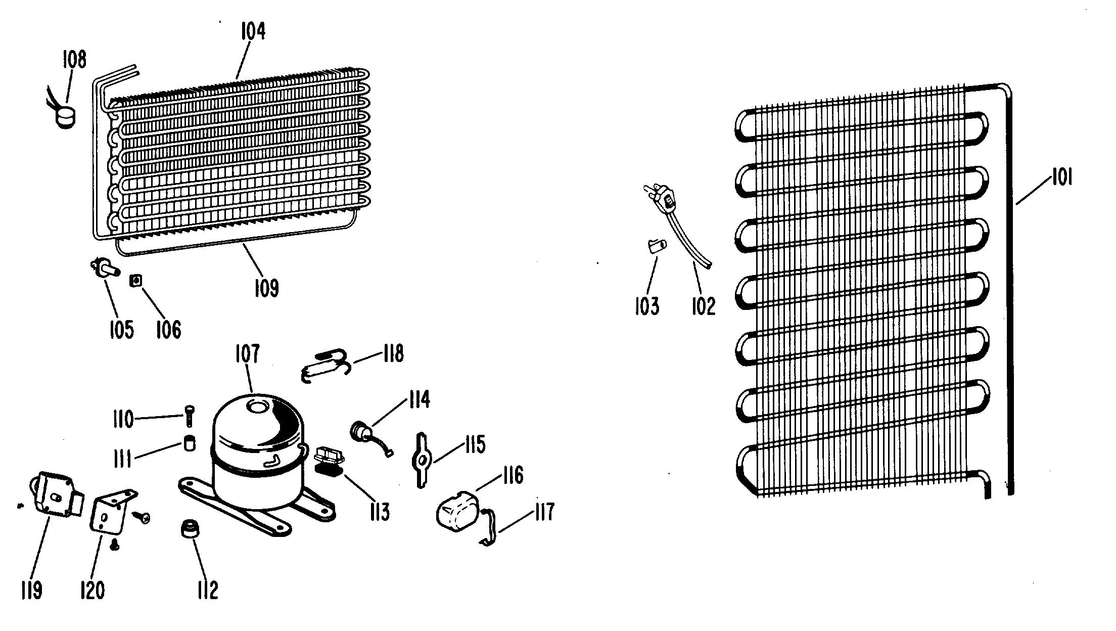
FVF16EAB 2