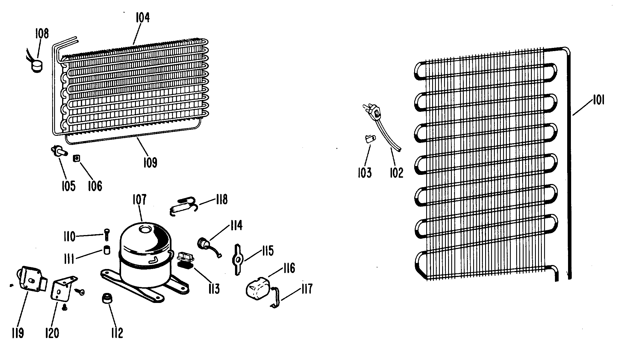
FVF16EAC 2