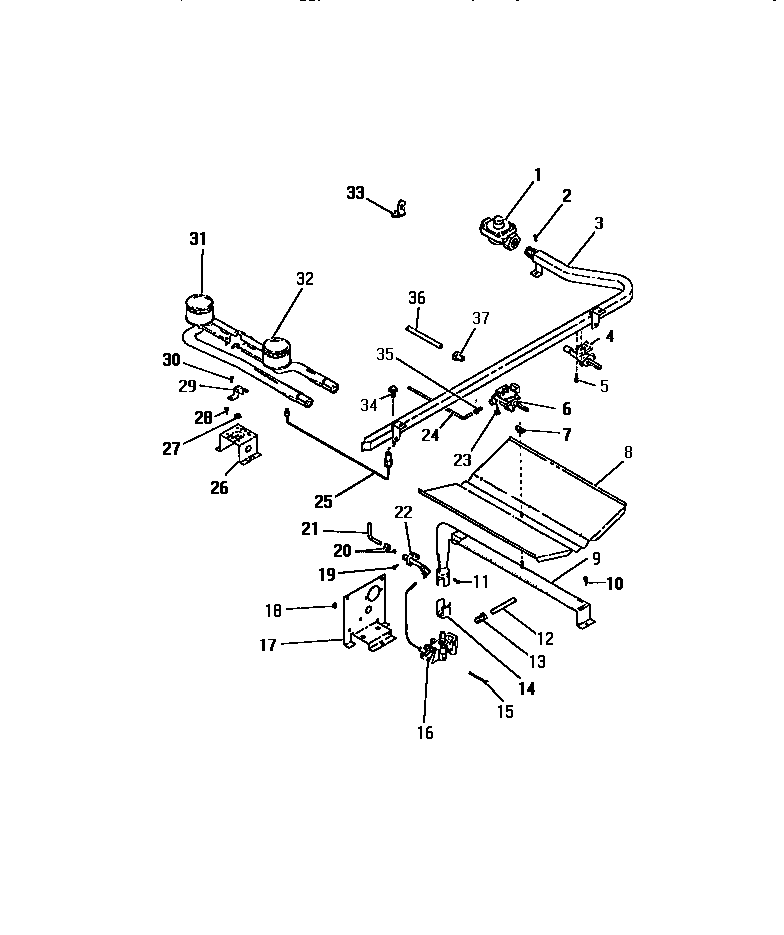
G21PCL0 23 – BURNERS, IGNITORS, CONTROLSadmin2025-04-26T08:39:31+00:00G21PCL0 23 – BURNERS, IGNITORS, CONTROLS ProductsPositionProduct1WCI 80079743WCI 80139024WCI 80139406WCI 80139277WCI 80079798WCI 80079809WCI 801385511WCI 800801114WCI 801391815WCI 800836116WCI 801394217WCI 800798718WCI 800796019WCI 800798920NUT, 3/16 (INCL. SLEEVE)22WCI 801391123SCREW (2)24TUBE25WCI 801391226WCI 801400227WCI 801146829SHIEILD, PILOT (2)30WCI 800790531WCI 801385332WCI 801385233CLIP, CAPILLARY TUBE34WCI 801147935NUT, 3/16 LOXIT36TUBE, 3/8 INCH37WCI 8008363