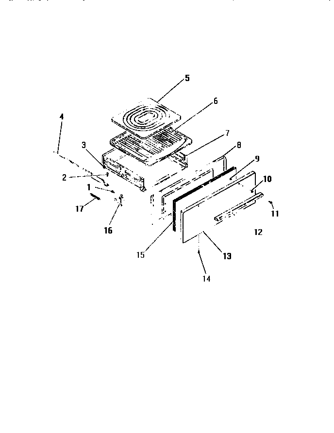
G24CL0 05 – BROILER DRAWER, PANELSadmin2025-04-26T08:39:22+00:00G24CL0 05 – BROILER DRAWER, PANELS ProductsPositionProduct2WCI 80079723WCI 80079734WCI 80079704WCI 80079715WCI 80080776WCI 80080787WCI 80140618WCI 80139559WCI 800796010WCI 800796311WCI 800796512WCI 801388113WCI 801405314WCI 800790516WCI 801259416AWCI 801259517WCI 8007969